Запчасти Case IH MAGNUM 235 (37.120.AW[02]) - QUICK HITCH COUPLER, CONVERTIBLE, CATEGORY III / IV-N (37) - HITCHES, DRAWBARS & IMPLEMENT COUPLINGS

Схема запчастей Case IH MAGNUM 235 - (37.120.AW[02]) - QUICK HITCH COUPLER, CONVERTIBLE, CATEGORY III / IV-N (37) - HITCHES, DRAWBARS & IMPLEMENT COUPLINGS
6
8
13
24
28
3
1
16
27
21
9
10
19
13
14
25
29
7
22
11
19
30
2
17
12
6
13
15
35
20
34
23
8
36
9
33
29
30
10
7
11
20
13
4
26
5
31
18
12
32
FIT
1:1
100%

Артикул

Название

Примечание

Количество

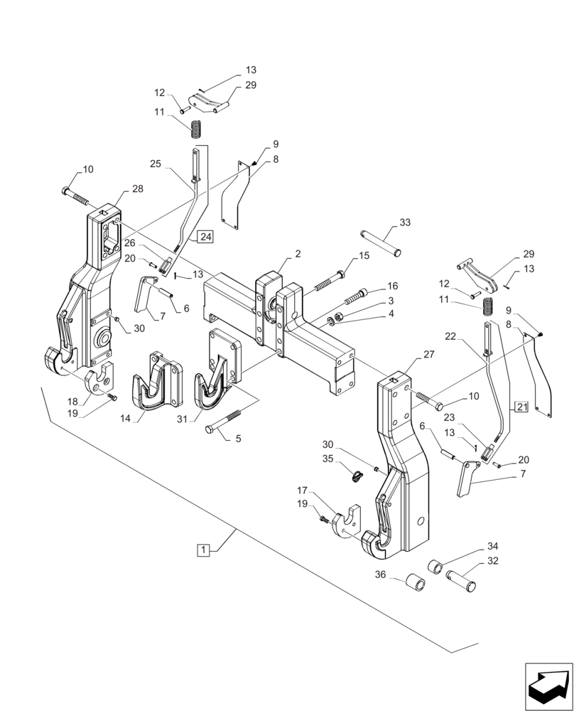
1

87733767

LINKAGE

Incl 2 - 32

1шт.

2

87739938

BAR

1шт.

3

829-1420

NUT,M20, Cl 10

2шт.

4

896-11020

WASHER,22mm ID x 37mm OD x 4mm Thk

2шт.

5

827-20170

BOLT,Hex, M20 x 2.5 x 170mm, Cl 10.9

2шт.

6

87012660

PIN,16mm OD x 65mm L, Coiled

2шт.

7

87395952

LATCH

2шт.

8

87397268

COVER

2шт.

9

614-8012

BOLT,Hex, M8 x 1.25 x 12mm, Cl 8.8, Full Thd

8шт.

10

827-20120

BOLT,Hex, M20 x 2.5 x 120mm, Cl 10.9

8шт.

11

70-4340T1

COMPRESSION SPRING

2шт.

12

728-1045

CLEVIS PIN,M10 x 45

2шт.

13

733-3220

COTTER PIN,M3.2 x 20

4шт.

14

87531653

HOOK

Cat 4N

1шт.

15

827-20140

BOLT,Hex, M20 x 2.5 x 140mm, Cl 10.9

2шт.

16

862-20090

HEX SOC SCREW,M20 x 90mm, Cl 12.9

2шт.

17

87540857

SPACER

1шт.

18

87540856

SPACER

1шт.

19

627-12030

BOLT,Hex, M12 x 1.75 x 30mm, Cl 10.9, Full Thd

4шт.

20

439-1620

HEADED PIN,3/8" x 1 1/4", G2

2шт.

21

87637368

LINK

Incl 22, 23

1шт.

22

87637184

LINK

1шт.

23

213-126

ADJUSTABLE CLEVIS,3/8"-24 x 2 1/2"

1шт.

24

87637369

LINK

Incl 25, 26

1шт.

25

87637185

LINK

1шт.

26

213-126

ADJUSTABLE CLEVIS,3/8"-24 x 2 1/2"

1шт.

27

87650682

HOOK CAT D3 FOR SLID

1шт.

28

87739940

HOOK CAT D3 FOR SLID

1шт.

29

87599209

HANDLE

2шт.

30

716495R2

PLUG

8шт.

31

87681150

HOOK

Cat 3

1шт.

32

87680609

HITCH PIN

2шт.

33

87546416

PIN,31.65mm OD x 215mm L

1шт.

34

87708029

BUSHING,32.7mm ID x 44.34mm OD x 60mm L

1шт.

35

378704A1

LOCK PIN

2шт.

36

383347A1

SPACER,38.1mm ID x 50.8mm OD x 70.9mm L

2шт.

37

733-6350

COTTER PIN,M6.3 x 50

1шт.

Выбрано товаров: 37