Запчасти Case IH MAGNUM 235 (55.518.AW) - WINDSHIELD WIPER ASSEMBLY, FRONT & REAR (55) - ELECTRICAL SYSTEMS

Схема запчастей Case IH MAGNUM 235 - (55.518.AW) - WINDSHIELD WIPER ASSEMBLY, FRONT & REAR (55) - ELECTRICAL SYSTEMS
14
17
6
15
7
3
8
2
5
12
1
11
10
13
4
16
9
FIT
1:1
100%

Артикул

Название

Примечание

Количество

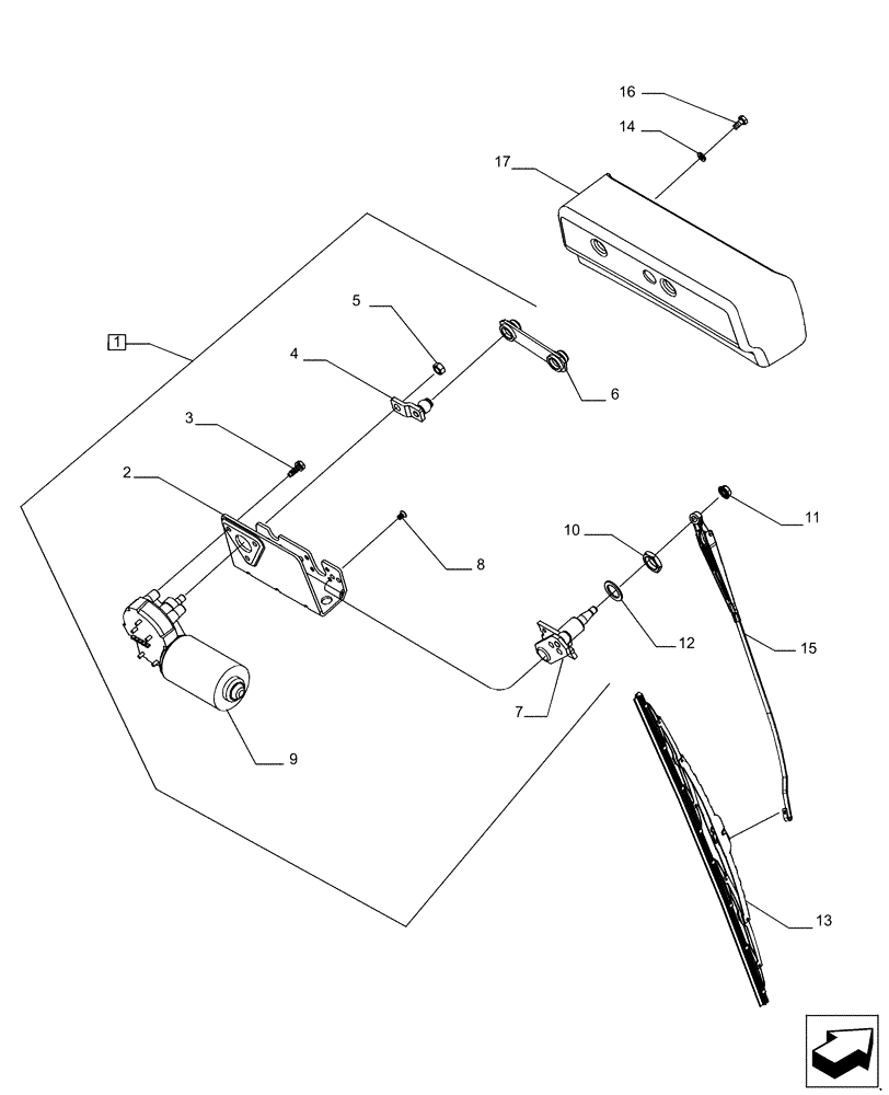
1

87673381

WIPER MOTOR

1шт.

2

NSS

NOT SOLD SEPARAT

1шт.

3

NSS

NOT SOLD SEPARAT

3шт.

4

NSS

NOT SOLD SEPARAT

1шт.

5

NSS

NOT SOLD SEPARAT

1шт.

6

NSS

NOT SOLD SEPARAT

1шт.

7

NSS

NOT SOLD SEPARAT

1шт.

8

NSS

NOT SOLD SEPARAT

4шт.

9

NSS

NOT SOLD SEPARAT

1шт.

10

L112087

NUT

1шт.

11

825-1408

NUT,M8, Cl 8

1шт.

12

895-11020

WASHER,M20 x 37 x 3

2шт.

13

87673380

WIPER BLADE

1шт.

14

892-11006

LOCK WASHER,M6

2шт.

15

84485913

WIPER ARM

Front

1шт.

15

84122637

WIPER ARM

ARM, WIPER Rear

1шт.

16

614-6012

BOLT,Hex, M6 x 1 x 12mm, Cl 8.8, Full Thd

2шт.

17

401109A3

CAGE

1шт.

18

829-1408

NUT,Hex, M8 x 1.25, Cl 10.9

1шт.

19

895-15006

WASHER,6.6mm ID x 25mm OD x 1.6mm Thk

4шт.

20

87529297

CLIP

1шт.

21

614-8020

BOLT,Hex, M8 x 1.25 x 20mm

1шт.

22

495-81121

WASHER,.344" x 1 1/2" x .060"

2шт.

Выбрано товаров: 0