Запчасти Case IH MAGNUM 235 (55.640.BH) - HARNESS, ISO 11783 OUTSIDE (55) - ELECTRICAL SYSTEMS

Схема запчастей Case IH MAGNUM 235 - (55.640.BH) - HARNESS, ISO 11783 OUTSIDE (55) - ELECTRICAL SYSTEMS
8
9
20
12
3
3
16
17
21
15
24
1
2
22
4
18
13
11
15
5
16
10
8
7
4
9
23
14
6
19
3
10
FIT
1:1
100%

Артикул

Название

Примечание

Количество

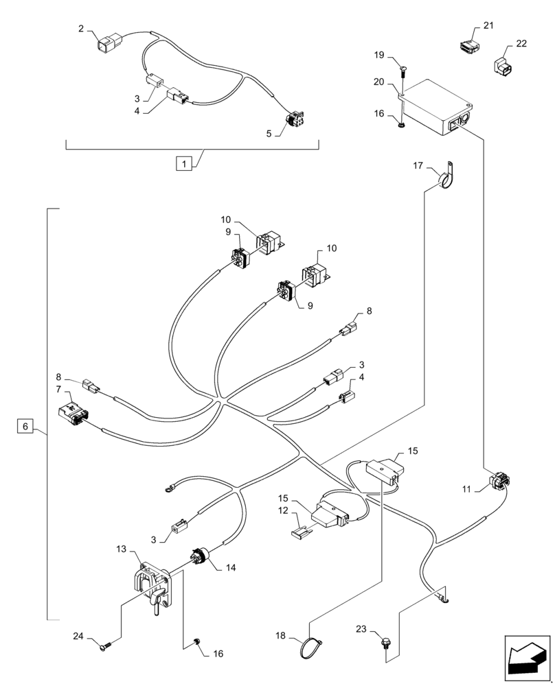
1

87695463

HARNESS

ISO Inside; Incl 2 - 5

1шт.

2

87382918

WIRE CONNECTOR,Female, 6 Cavities

6 Pin, 273F To Cab Harness

1шт.

3

239451A1

MULTIPOLE CONNECTOR,Female, 4 Pin

278M To Bus Extension IN

3шт.

4

225326C1

ELEC CONNECTOR,Male, 4 Pin

278F To Bus Extension OUT

2шт.

5

256348A1

ELEC CONNECTOR,Female, 6 Pin

276M To Active Terminator

2шт.

6

84427042

HARNESS

ISO Outside; Incl 7 - 15

1шт.

7

87382927

ELEC CONNECTOR,Male, 14 Cavities

14 Pin, 294F To Chassis Harness

1шт.

8

225315C1

ELEC CONNECTOR,Male, 2 Pin

175F To Tractor Bus

2шт.

9

297910A1

ELEC CONNECTOR,Female, 5 Pin

293M To High Relay

2шт.

10

84179509

RELAY

Miniature 12v

2шт.

11

87410946

MULTIPOLE CONNECTOR,Female, 34 Cavities

17 Pin, 282M To Tractor ECU

1шт.

12

84253578

FUSE,20A

Maxival 20A, In-Line

1шт.

13

87522416

ELEC CONNECTOR,Female, 5 Cavities

291M, ISO BUS Breakaway

1шт.

14

87533827

ELEC CONNECTOR,Female

4 Pin, 289M To Implement Bus Breakaway

1шт.

15

300518A1

FUSE HOLDER

Bussmann In-Line

2шт.

16

825-2406

FLANGE NUT,M6 x 1, Cl 8.8

6шт.

17

87313355

CLAMP,38.1mm, Coat, 8.7mm Bolt Hole, J Type

J 38.1mm Insul M8 Bolt

2шт.

18

L11541

CABLE TIE,203.2mm L, Nylon

7-8 Black Nylon

2шт.

19

811-6025

CARRIAGE BOLT,Sht Sq Nk, M6 x 1 x 25mm, Cl 8.8

2шт.

20

47748754

ECU

Tractor ECU

1шт.

21

87544769

HARNESS

Display Jumper

1шт.

22

87601142

ELEC CONNECTOR,Female, 6 Cavities

1шт.

23

86531147

BOLT,Hex, M10 x 16mm, Cl 8.8, Full Thd

1шт.

24

840-1620

SCREW,Pan, M6 x 20mm, Cl 4.8

4шт.

Выбрано товаров: 24