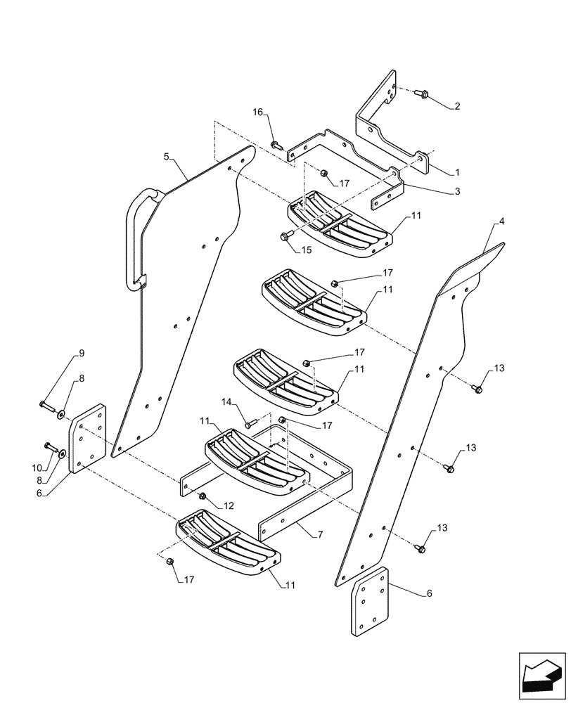
Запчасти Case IH MAGNUM 235 (90.118.AE[01]) - STEPS SIDE (90) - PLATFORM, CAB, BODYWORK AND DECALS

Схема запчастей Case IH MAGNUM 235 - (90.118.AE[01]) - STEPS SIDE (90) - PLATFORM, CAB, BODYWORK AND DECALS
9
17
11
7
1
11
11
13
13
17
6
17
5
17
3
12
8
8
11
15
17
16
2
14
13
11
10
6
4
FIT
1:1
100%

Артикул

Название

Примечание

Количество

1

84352024

BRACKET

1шт.

2

844-12030

BOLT,Hvy Hex, M12 x 30mm, Cl 8.8

3шт.

3

47725508

SUPPORT

1шт.

4

47725510

SUPPORT

1шт.

5

47725512

BRACKET

1шт.

6

47725506

RISER

2шт.

7

47725515

PLATE

1шт.

8

86642464

WASHER,11mm ID x 30mm OD x 2.5mm Thk

8шт.

9

614-10050

BOLT,Hex, M10 x 1.5 x 50mm, Cl 8.8, Full Thd

4шт.

10

120112

BOLT,Hex, M10 x 1.5 x 40mm, Cl 8.8, Full Thd

4шт.

11

87371923

STEP

5шт.

12

825-2410

FLANGE NUT,M10 x 1.5, Flg, Cl 8

4шт.

13

9804261

BOLT,Hex, M10 x 25mm, Cl 8.8, Full Thd

12шт.

14

614-10035

BOLT,Hex, M10 x 1.5 x 35mm, Cl 8.8, Full Thd

2шт.

15

844-12035

BOLT,Hvy Hex, M12 x 35mm, Cl 8.8

2шт.

16

9804262

BOLT,M10 x 39.2mm, Cl 8.8

4шт.

17

12577211

LOCK NUT,M10 x 1.5mm Pitch, 12.30mm High, Cl 8, ZND

20шт.

Выбрано товаров: 17