Запчасти Case IH MAGNUM 235 (10.206.AF[02]) - PRECLEANER (10) - ENGINE

Схема запчастей Case IH MAGNUM 235 - (10.206.AF[02]) - PRECLEANER (10) - ENGINE
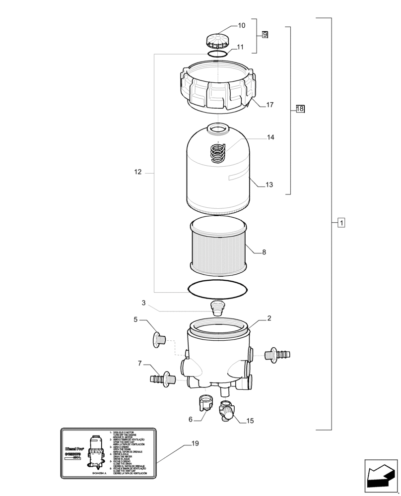
15
1
13
12
19
5
14
11
2
9
18
3
7
10
8
17
6
FIT
1:1
100%

Артикул

Название

Примечание

Количество

1

84283079

FUEL FILTER

, Serial Range: -HCCZM340CDCM14038

1шт.

1

84419651

FUEL FILTER

, Start Serial: HCCZM340CDCM14039

1шт.

2

84308727

CYLINDER HEAD

1шт.

3

84308729

CHECK VALVE

1шт.

5

84308730

PLUG

2шт.

6

2830987

SENSOR

, Serial Range: -HCCZM340CDCM14038

1шт.

7

128819

HYD CONNECTOR,7/8" - 14 ORB x 3/4" - 16 JIC

2шт.

8

84283691

FUEL FILTER

1шт.

9

NSS

NOT SOLD SEPARAT

84308734, Plug Assy, Incl in 18

1шт.

10

NSS

NOT SOLD SEPARAT

Plug, Incl in 18

1шт.

11

84308752

O-RING,20mm ID x 1.25mm Width

1шт.

12

84308755

O-RING,20mm ID x 1.25mm Width

1шт.

13

NSS

NOT SOLD SEPARAT

84308757, Cup, Incl in 18

1шт.

14

NSS

NOT SOLD SEPARAT

84308762, Spring, Incl in 18

1шт.

15

84308766

DRAIN

STD ENGINE EXHAUST VALVE

1шт.

17

NSS

NOT SOLD SEPARAT

84308776, Ring, Incl in 18

1шт.

18

84408690

COVER ASSY

Incl 9,13,14,17

1шт.

19

84344294

DECAL

, Serial Range: -HCCZM340CDCM14038

1шт.

Выбрано товаров: 18