Запчасти Case IH MAGNUM 235 (41.200.BY[01]) - STEERING PRIORITY VALVE - CVT (41) - STEERING

Схема запчастей Case IH MAGNUM 235 - (41.200.BY[01]) - STEERING PRIORITY VALVE - CVT (41) - STEERING
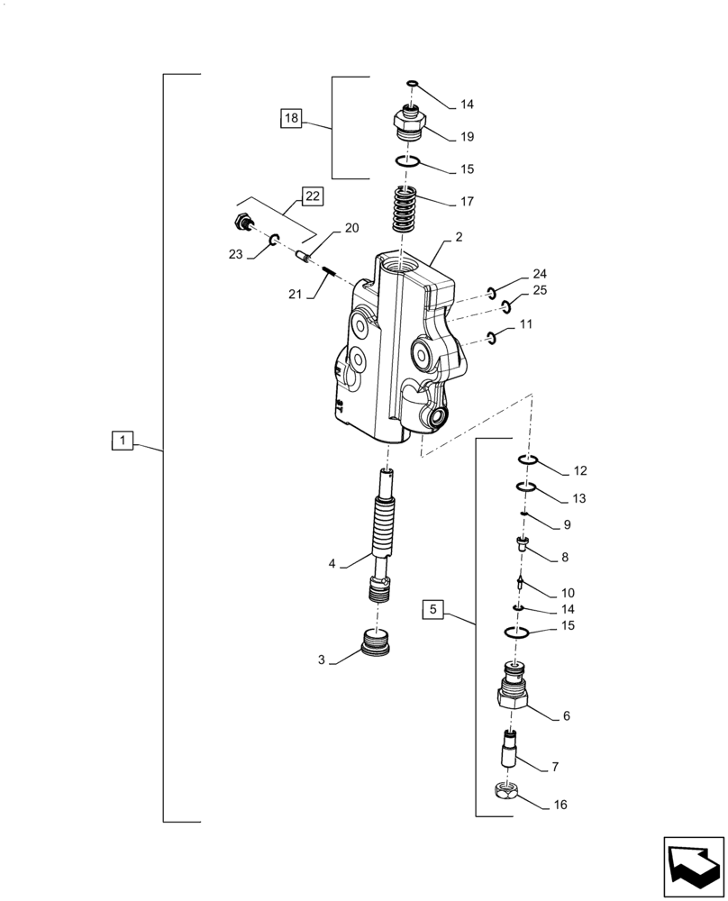
17
5
1
16
14
15
20
19
3
15
25
11
6
24
4
10
18
12
7
23
13
21
22
8
2
9
14
FIT
1:1
100%

Артикул

Название

Примечание

Количество

1

47370362

VALVE

Steering Priority, CVT, Incl 2 - 23, Serial Range: -ZGR_01053

1шт.

1

47771356

VALVE

Steering Priority, CVT, Incl 2 - 23, Start Serial: ZGR_01054

1шт.

2

NSS

NOT SOLD SEPARAT

BODY Incl in 1

1шт.

3

221580A1

PLUG,M27 x 2 ORB

1шт.

4

84599958

SPOOL

1шт.

5

130060A2

PILOT VALVE

Pilot Relief, 19000 kPa, Incl 6 - 10, 12 - 16

1шт.

6

G108866

HOUSING,1-1/16" - 12

1шт.

7

G108867

PLUG

1шт.

8

NSS

NOT SOLD SEPARAT

VALVE SEAT Incl in 5

1шт.

9

NSS

NOT SOLD SEPARAT

FILTER SCREEN Incl in 5

1шт.

10

G108556

VALVE POPPET

Priority Regulator

1шт.

11

238-6115

O-RING,0.103" Thk x 0.674" ID, -115, Cl 6, 90 Duro

To Valve Stack

1шт.

12

238-6018

O-RING,0.07" Thk x 0.739" ID, -18, Cl 6, 90 Duro

1шт.

13

G35540

BACK-UP RING,19.43mm ID x 22.23mm OD x 1.32mm Thk

1шт.

14

238-6012

O-RING,0.07" Thk x 0.364" ID, -12, Cl 6, 90 Duro

2шт.

15

237-6012

O-RING,0.116" Thk x 0.924" ID, -912, Cl 6, 90 Duro

2шт.

16

25-1510

JAM NUT,Jam, 5/8"-18, G5

1шт.

17

408447A1

COMPRESSION SPRING

Steering

1шт.

18

313940A1

FITTING

Orifice, Incl 14, 15, 19

1шт.

19

176087A1

FITTING

Orifice

1шт.

20

87648631

PIN,8mm OD x 19mm L

Load Sense

1шт.

21

87648596

SPRING,3.81mm OD x 23.19mm L

Aux Signal Check

1шт.

22

87648607

PLUG,M12 x 1.5 ORB

Load Sense, Incl 23

1шт.

23

637-63093

O-RING,2.2mm Thk x 9.3mm ID, Cl 6, 90 Duro

1шт.

24

87635379

O-RING,2.62mm Thk x 9.19mm ID, -110, 80 Duro

To Valve Stack

3шт.

25

87635382

O-RING,2.62mm Thk x 20.29mm ID, -117, 80 Duro

To Valve Stack

3шт.

Выбрано товаров: 26