Качественные детали и логистика
Оригинальные и аналоговые запчасти с доставкой по России, Казахстану и Беларуси
©2022 PartSell ООО "Система" ИНН 2463123282 ОГРН 1212400004838
Центральный офис: г. Красноярск, Академика Киренского, д.87, пом.4
Телефон: 8 (800) 777-65-74 Email: zakaz@partsell.ru
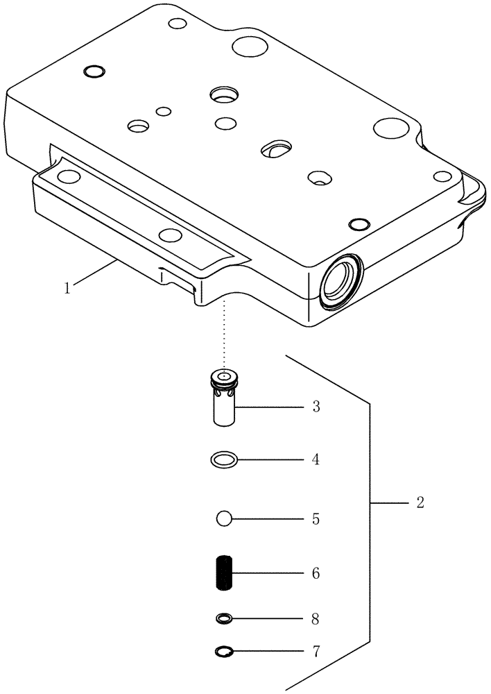
(06-05) - PLATE ASSEMBLY - VALVE MOUNTING, TOP
№
Артикул
Название
Примечание
Количество
87444975
MANIFOLD
Inc. 1 - 8
1шт.
1
87444976
2
445492A2
CHECK VALVE
Inc. 3 - 8
3
NSS
NOT SOLD SEPARAT
Body
4
238-5012
O-RING,0.07" Thk x 0.364" ID, -12, Cl 5, 75 Duro
5
211-1009
BALL
9/32; 24,CRS
6
445494A1
VALVE SPRING,7.21mm OD x 18.53mm L
7
100-2131
SNAP RING,0.312", Int, #31
8
86988656
SPRING WASHER,Spring, 5.5mm ID x 7.5mm OD x 1.1mm Thk
Выбрано товаров: 0