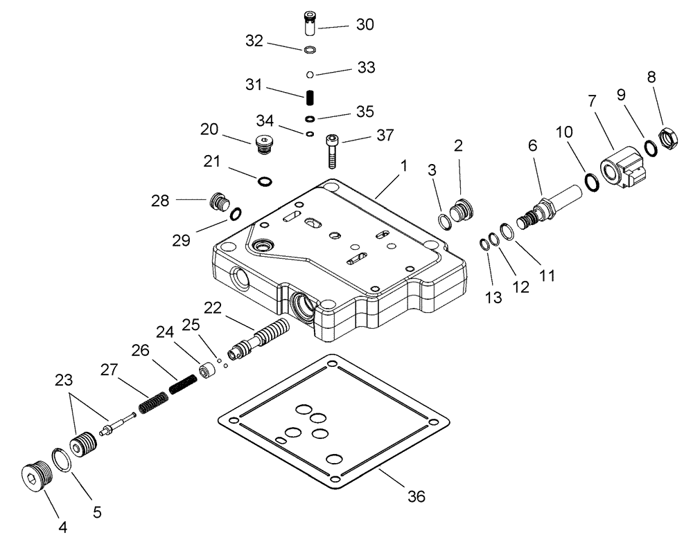
Запчасти Case IH MAGNUM 255 (06-13) - VALVE ASSY - INCHING (06) - POWER TRAIN

Схема запчастей Case IH MAGNUM 255 - (06-13) - VALVE ASSY - INCHING (06) - POWER TRAIN
31
11
1
28
34
9
6
32
21
35
36
26
23
3
2
29
37
8
27
12
30
22
5
7
4
25
20
13
10
33
24
FIT
1:1
100%

Артикул

Название

Примечание

Количество

445537A2

VALVE

Inc. 1 - 35

1шт.

1

NSS

NOT SOLD SEPARAT

BODY, Valve

1шт.

2

221578A1

PLUG,M18 x 1.5 ORB

Incl. 3

1шт.

3

637-63153

O-RING,2.2mm Thk x 15.3mm ID, Cl 6, 90 Duro

1шт.

4

221580A1

PLUG,M27 x 2 ORB

Inc. 5

1шт.

5

637-64236

O-RING,2.9mm Thk x 23.6mm ID, Cl 6, 90 Duro

1шт.

239552A2

SOLENOID VALVE

Inc. 6 - 13

1шт.

6

NSS

NOT SOLD SEPARAT

CARTRIDGE

1шт.

7

NSS

NOT SOLD SEPARAT

COIL

1шт.

8

NSS

NOT SOLD SEPARAT

NUT

1шт.

308245A1

SEAL KIT

Inc. 9 - 13

1шт.

9

238-7016

O-RING,0.07" Thk x 0.614" ID, -16, Cl 7, 75 Duro

1шт.

10

238-7018

O-RING,0.07" Thk x 0.739" ID, -18, Cl 7, 75 Duro

1шт.

11

237-6008

O-RING,0.087" Thk x 0.644" ID, -908, Cl 6, 90 Duro

1шт.

12

238-5014

O-RING,0.07" Thk x 0.489" ID, -14, Cl 5, 75 Duro

1шт.

13

238-5013

O-RING,0.07" Thk x 0.426" ID, -13, Cl 5, 75 Duro

1шт.

20

221576A1

PLUG,Hex Soc, M14 x 1.5, ORB

Incl. 21

1шт.

21

637-63113

O-RING,2.2mm Thk x 11.3mm ID, Cl 6

1шт.

302170A2

SPOOL

Inc. 22 - 27

1шт.

22

NSS

NOT SOLD SEPARAT

SPOOL

1шт.

23

NSS

NOT SOLD SEPARAT

PISTON

1шт.

24

NSS

NOT SOLD SEPARAT

SLEEVE

1шт.

25

NSS

NOT SOLD SEPARAT

BALL

1шт.

26

NSS

NOT SOLD SEPARAT

SPRING

1шт.

27

NSS

NOT SOLD SEPARAT

SPRING

1шт.

28

221576A1

PLUG,Hex Soc, M14 x 1.5, ORB

Incl. 29

1шт.

29

637-63113

O-RING,2.2mm Thk x 11.3mm ID, Cl 6

1шт.

445492A2

CHECK VALVE

Inc. 30 - 35

1шт.

30

NSS

NOT SOLD SEPARAT

BODY

1шт.

31

445494A1

VALVE SPRING,7.21mm OD x 18.53mm L

1шт.

32

238-5012

O-RING,0.07" Thk x 0.364" ID, -12, Cl 5, 75 Duro

1шт.

33

211-1009

BALL

9/32; 24,CRS

1шт.

34

100-2131

SNAP RING,0.312", Int, #31

1шт.

35

86988656

SPRING WASHER,Spring, 5.5mm ID x 7.5mm OD x 1.1mm Thk

1шт.

36

253385A2

GASKET,0.92mm Thk

1шт.

37

861-10045

HEX SOC SCREW,M10 x 45mm, Cl 12.9

4шт.

Выбрано товаров: 36