Запчасти Case IH MAGNUM 255 (02-05) - AFTERCOOLER (02) - ENGINE

Схема запчастей Case IH MAGNUM 255 - (02-05) - AFTERCOOLER (02) - ENGINE
14
20
4
22
8
5
11
8
18
26
15
13
12
3
10
8
20
23
1
16
21
26
6
2
20
FIT
1:1
100%

Артикул

Название

Примечание

Количество

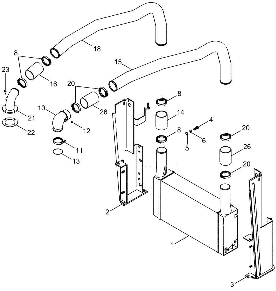
1

87307279

HEAT EXCHANGER

, Serial Range: Air-Air

1шт.

2

87621948

SUPPORT

Left Hand

1шт.

3

87621960

SUPPORT

Right Hand

1шт.

4

614-10025

BOLT,Hex, M10 x 1.5 x 25mm, Cl 8.8

4шт.

5

87456528

TUBE SPACER

4шт.

6

495-81148

WASHER,7/16" x 1 1/4" x .134"

4шт.

8

352198A1

CLAMP,90mm

Hose

4шт.

10

J918685

PIPE

1шт.

11

J069053

CLAMP,66.54mm ID

1шт.

12

J008465

PLUG

1шт.

13

J883284

O-RING,0.07" Thk x 2.364" ID, -36

1шт.

14

87454331

AIR HOSE

Air to Air, Cold Side

1шт.

15

87521309

HYD TUBE,3" OD

Turbo to Cooler, Serial Range: -Z7RZ02632

1шт.

15

87602983

HYD TUBE,3" OD

Turbo to Cooler, Start Serial: Z7RZ02632

1шт.

16

87311336

HOSE,76.20 mm ID x 180.00 mm

Air to Air, Cold Side

1шт.

18

87523229

TUBE

Cooler to Intake Manifold, Serial Range: -Z7RZ02632

1шт.

18

87604622

TUBE,3 mm OD x 1069, 489 mm L

Cooler to Intake Manifold, Start Serial: Z7RZ02632

1шт.

20

364751A1

CLAMP,78mm - 86mm

4шт.

21

220851A1

ELBOW

1шт.

22

J917892

GASKET,0.79mm Thk

1шт.

23

844-8030

BOLT,Hex, M8 x 1.25 x 30mm, Cl 8.8

4шт.

26

377592A1

HOSE,76.20 mm ID x 130.00 mm, SAE 20R1, SAE J20

Air to Air

2шт.

Выбрано товаров: 22