Запчасти Case IH MAGNUM 255 (09-14) - CAB - STEPS (09) - CHASSIS/ATTACHMENTS

Схема запчастей Case IH MAGNUM 255 - (09-14) - CAB - STEPS (09) - CHASSIS/ATTACHMENTS
12
3
5
21
11
3
8
18
1
14
15
21
13
5
12
13
12
22
12
12
20
4
19
16
12
3
17
4
12
14
2
6
13
17
3
13
20
18
7
14
22
21
21
FIT
1:1
100%

Артикул

Название

Примечание

Количество

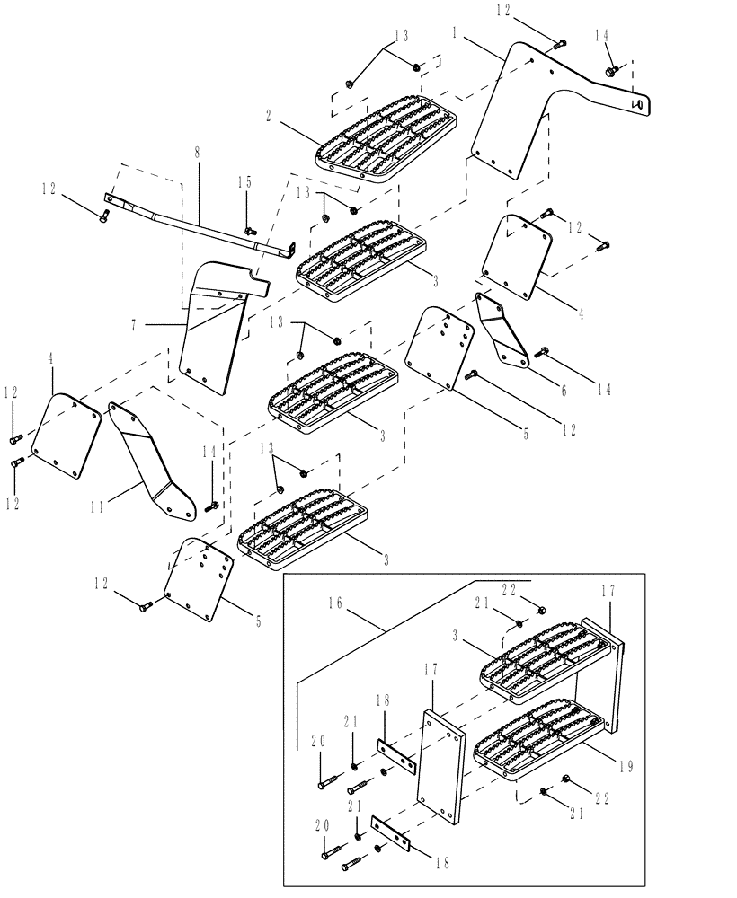
1

87447664

RISER

Front, Upper

1шт.

2

87310397

STEP

Upper

1шт.

3

87301185

STEP

3шт.

4

87426577

RISER

Center

2шт.

5

87426578

RISER

Lower Front

2шт.

6

87447713

BRACKET

Front

1шт.

7

87341258

RISER

Rear, Upper

1шт.

8

87447680

SUPPORT TUBE,0.75" OD

1шт.

11

87447712

BRACKET

Rear, Lower

1шт.

12

614-10035

BOLT,Hex, M10 x 1.5 x 35mm, Cl 8.8, Full Thd

16шт.

13

825-2410

FLANGE NUT,M10 x 1.5, Flg, Cl 8

16шт.

14

844-10030

BOLT,Hvy Hex, M10 x 30mm, Cl 8.8

5шт.

15

844-10030

BOLT,Hvy Hex, M10 x 30mm, Cl 8.8

1шт.

16

719620006

DIA KIT, TRACTOR

Cab Step Extension, Inc. 17 - 22

1шт.

17

322425A1

SUPPORT

2шт.

18

448033A1

LARGE PLATE

PLATE, LARGE

4шт.

19

87301185

STEP

1шт.

20

814-10055

BOLT,Hex, M10 x 1.5 x 55mm, Cl 8.8

8шт.

21

895-11010

WASHER,11mm ID x 20mm OD x 2mm Thk

16шт.

22

832-10410

NUT,M10 x 1.5, Cl 8

8шт.

Выбрано товаров: 20