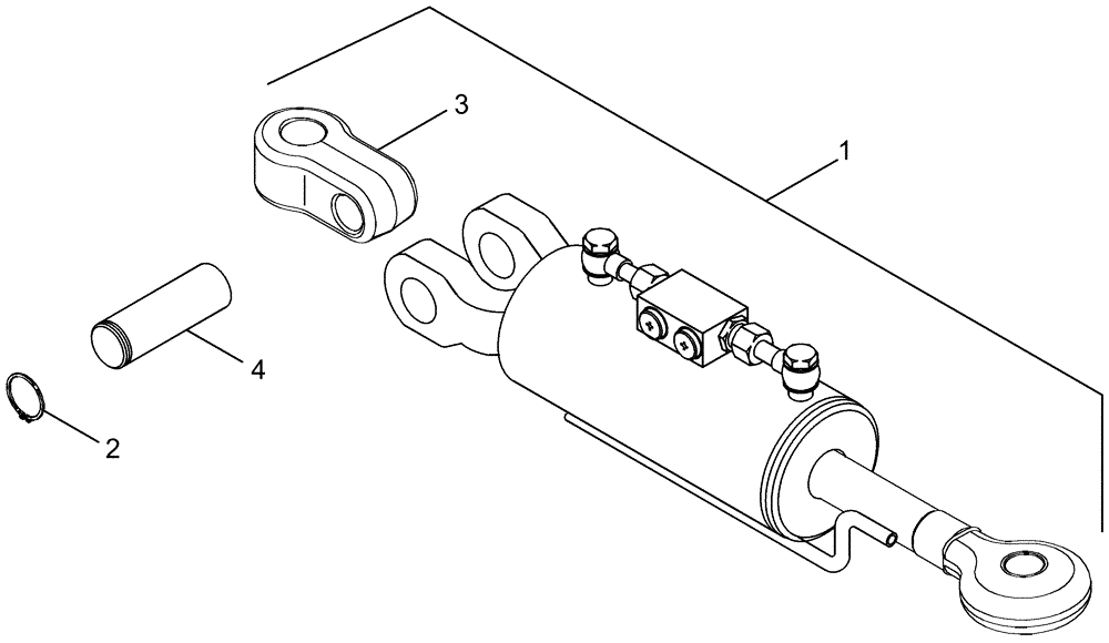
Запчасти Case IH MAGNUM 255 (09-45) - CYLINDER ASSEMBLY - HYDRAULIC TOP LINK - HITCH, SHORT ARMS (09) - CHASSIS/ATTACHMENTS

Схема запчастей Case IH MAGNUM 255 - (09-45) - CYLINDER ASSEMBLY - HYDRAULIC TOP LINK - HITCH, SHORT ARMS (09) - CHASSIS/ATTACHMENTS
4
1
2
3
FIT
1:1
100%

Артикул

Название

Примечание

Количество

1

87453964

TOP LINK

Short, Used With Short Draft Arms, 970 mm (38 in) Center To Center, Inc. 2 - 5

1шт.

2

800-2128

SNAP RING,M28, Int

2шт.

3

283235A3

CLEVIS

1шт.

4

310476A2

PIN

PIN

1шт.

5

5197835

SEALING RING

(Not Shown)

1шт.

Выбрано товаров: 5