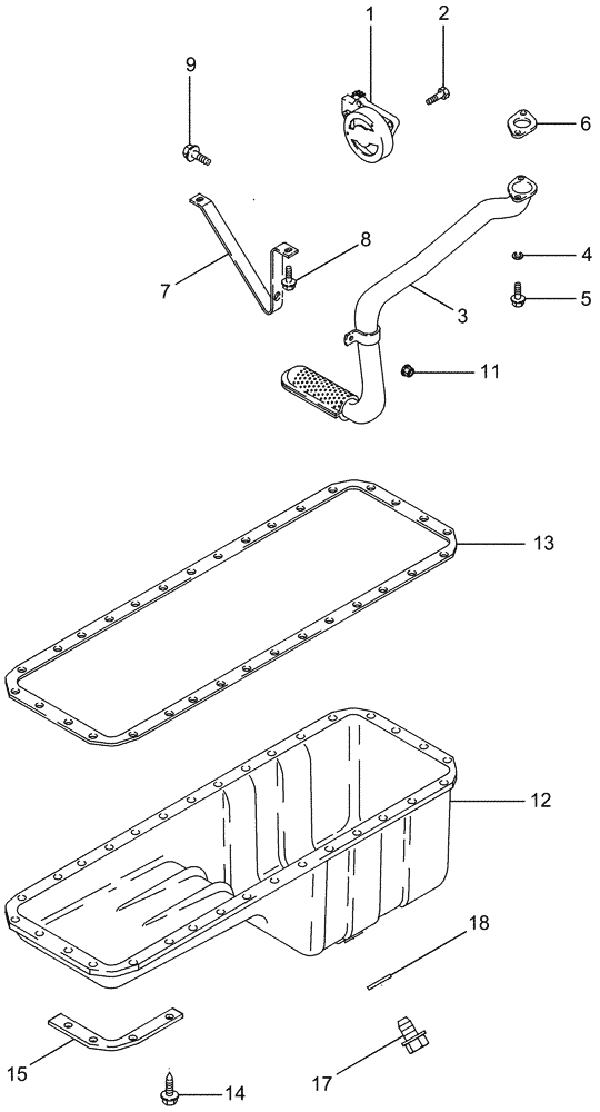
Запчасти Case IH MAGNUM 255 (02-17) - OIL PUMP AND OIL PAN (02) - ENGINE

Схема запчастей Case IH MAGNUM 255 - (02-17) - OIL PUMP AND OIL PAN (02) - ENGINE
7
1
17
11
5
14
8
12
2
4
18
6
13
3
15
9
FIT
1:1
100%

Артикул

Название

Примечание

Количество

1

J948072

ENGINE OIL PUMP

New

1шт.

2

J900677

BOLT,Hex

M8 x 30

4шт.

3

J928828

TUBE ASSY.,31.75 mm OD x 514.17, 201 mm L

1шт.

4

J926865

SPACER,6.9mm ID x 12.7mm OD x 14mm L

2шт.

5

845-6030

BOLT,Hvy Hex, M6 x 30mm, Cl 8.8

2шт.

6

87447959

GASKET,1.2mm Thk

1шт.

7

J927611

BRACKET

1шт.

8

845-6015

BOLT,Hvy Hex, M6 x 15mm, Cl 8.8

2шт.

9

845-6020

BOLT,Hvy Hex, M6 x 20mm, Cl 8.8

1шт.

11

825-2406

FLANGE NUT,M6 x 1, Cl 8.8

1шт.

12

87362733

ENGINE OIL PAN

1шт.

13

87308050

GASKET,0.95mm Thk

Oil Pan

1шт.

14

J907860

FLANGE BOLT,Hex, M8 x 25mm, Spcl

32шт.

15

87414461

SUPPORT

4шт.

17

J924147

PLUG,M18 x 1.5

M18

1шт.

18

J920773

SEALING WASHER

1шт.

19

87361945

STRAP

Not Illustrated

2шт.

Выбрано товаров: 17