Качественные детали и логистика
Оригинальные и аналоговые запчасти с доставкой по России, Казахстану и Беларуси
©2022 PartSell ООО "Система" ИНН 2463123282 ОГРН 1212400004838
Центральный офис: г. Красноярск, Академика Киренского, д.87, пом.4
Телефон: 8 (800) 777-65-74 Email: zakaz@partsell.ru
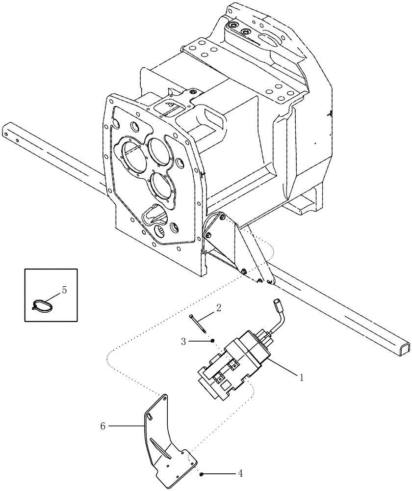
(04-34) - GROUND SPEED SENSOR
№
Артикул
Название
Примечание
Количество
1
228760A1
RADAR
Sensor, True Ground Speed
1шт.
2
814-6100
BOLT,Hex, M6 x 1 x 100mm, Cl 8.8
4шт.
3
895-11006
WASHER,6.6mm ID x 12mm OD x 1.6mm Thk
4
825-5146
SERRATED NUT,M6, Flg Ser
5
L11541
CABLE TIE,203.2mm L, Nylon
CABLE STRAP 7 - 8 in
6
87436570
SUPPORT
Выбрано товаров: 0