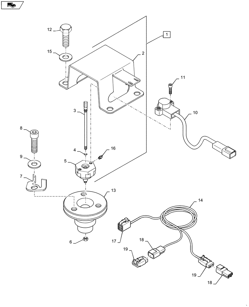
Запчасти Case IH MAGNUM 260 (25.108.AG[05]) - VAR - 420224, 420228 DANA AXLE - STEERING SENSORS AND COVER (25) - FRONT AXLE SYSTEM

Схема запчастей Case IH MAGNUM 260 - (25.108.AG[05]) - VAR - 420224, 420228 DANA AXLE - STEERING SENSORS AND COVER (25) - FRONT AXLE SYSTEM
14
11
15
10
17
16
19
home
2
13
9
1
6
5
4
18
18
8
7
19
12
3
FIT
1:1
100%

Артикул

Название

Примечание

Количество

1

87311993

KIT

King Pin, Inc. 2 - 8

1шт.

2

87308126

COVER

Kingpin Steering Sensor

1шт.

3

87307820

SHAFT

1шт.

4

238-5008

O-RING,0.07" Thk x 0.18" ID, -8, Cl 5, 75 Duro

1шт.

5

87307822

MOUNTING PARTS,M5 x 0.8

Cap Assembly

1шт.

6

832-10406

NUT,M6 x 1, Cl 8

1шт.

7

87307821

LOCK WASHER

1шт.

8

863-14045

HEX SOC SCREW,M14 x 45mm, Cl 12.9

1шт.

9

87016615

WASHER,15.3mm ID x 28.5mm OD x 3mm Thk

1шт.

10

87524642

SENSOR

Steering Angle Position

1шт.

11

864-5025

HEX SOC SCREW,M5 x 25mm, Cl 8.8

2шт.

12

614-16025

BOLT,Hex, M16 x 2 x 25mm, Cl 8.8, Full Thd

4шт.

13

378410A1

CAP

Assembly

1шт.

14

84354318

HARNESS

Inc. 17 - 19

1шт.

14

84157342

HARNESS

Inc. 17 - 19, Use with Class 4.5 Axle

1шт.

15

896-11016

WASHER,17.5mm ID x 30mm OD x 4mm Thk

4шт.

16

219-36

LUBE NIPPLE,45 Degree Elbow, 1/8" - 27 NPTF

1шт.

17

225351C1

ELEC CONNECTOR,Female, 6 Pin

6 Pin, 500M, To Steering sensor

1шт.

18

87382910

WIRE CONNECTOR,Female, 3 Cavities

3 Pin, 437M, 375F, To Auxillary and Steering Harness

2шт.

19

87382911

WIRE CONNECTOR,Male, 3 Cavities

3 Pin, 437M, 375F, To Auxillary and Steering Harness

2шт.

Выбрано товаров: 0