Запчасти Case IH MAGNUM 260 (33.220.AT[01]) - BRAKES, CONTROL VALVE - STD REAR AXLE (33) - BRAKES & CONTROLS

Схема запчастей Case IH MAGNUM 260 - (33.220.AT[01]) - BRAKES, CONTROL VALVE - STD REAR AXLE (33) - BRAKES & CONTROLS
11
3
17
12
16
13
6
14
15
2
8
5
18
10
19
9
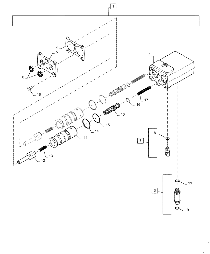
1
7
4
FIT
1:1
100%

Артикул

Название

Примечание

Количество

1

87731065

BRAKE VALVE

Assy, Brake Incl 2 - 20

1шт.

2

NSS

NOT SOLD SEPARAT

Body; Incl in 1

1шт.

3

87731851

CHECK VALVE,13/16" - 16 ORFS x M18 x 1.5 ORB

Incl 9, 19

1шт.

4

403356A1

GASKET,0.92mm Thk

Brake Valve

1шт.

5

397111A1

PLATE

Brake Firewall

1шт.

6

A63399

OIL SEAL,15.87mm ID x 28.73mm OD x 6.35mm Thk

2шт.

7

279266A1

SWITCH

Brake,N/C Incl 8

2шт.

8

86632687

O-RING,0.078" Thk x 0.468" ID, -906, Cl 8, 90 Duro

1шт.

9

238-6012

O-RING,0.07" Thk x 0.364" ID, -12, Cl 6, 90 Duro

1шт.

10

397106A5

SPOOL

Brake

2шт.

11

397105A5

SLEEVE

Brake

2шт.

12

433199A1

POPPET

Brake

2шт.

13

433196A2

SPRING

Brake Valve Outer

2шт.

14

407387A1

SEAL,47.64mm ID x 50.8mm OD x 2.38mm Thk

2шт.

15

238-7131

O-RING,0.103" Thk x 1.674" ID, -131, Cl 7, 75 Duro

2шт.

16

407282A1

SNAP RING

Brake Valve

2шт.

17

397110A1

COMPRESSION SPRING

Brake Return

2шт.

18

220056A1

SCREW,Hex Soc Flat Hd, M10 x 20mm, Cl 8.8

3шт.

19

637-63153

O-RING,2.2mm Thk x 15.3mm ID, Cl 6, 90 Duro

1шт.

Выбрано товаров: 19