Запчасти Case IH MAGNUM 260 (55.510.AF[01]) - CAB HARNESS - BSN ZDRD02583 (55) - ELECTRICAL SYSTEMS

Схема запчастей Case IH MAGNUM 260 - (55.510.AF[01]) - CAB HARNESS - BSN ZDRD02583 (55) - ELECTRICAL SYSTEMS
13
24
20
a
6
15
14
16
18
23
home
2
24
7
22
10
11
5
24
8
9
19
12
21
25
26
4
3
17
FIT
1:1
100%

Артикул

Название

Примечание

Количество

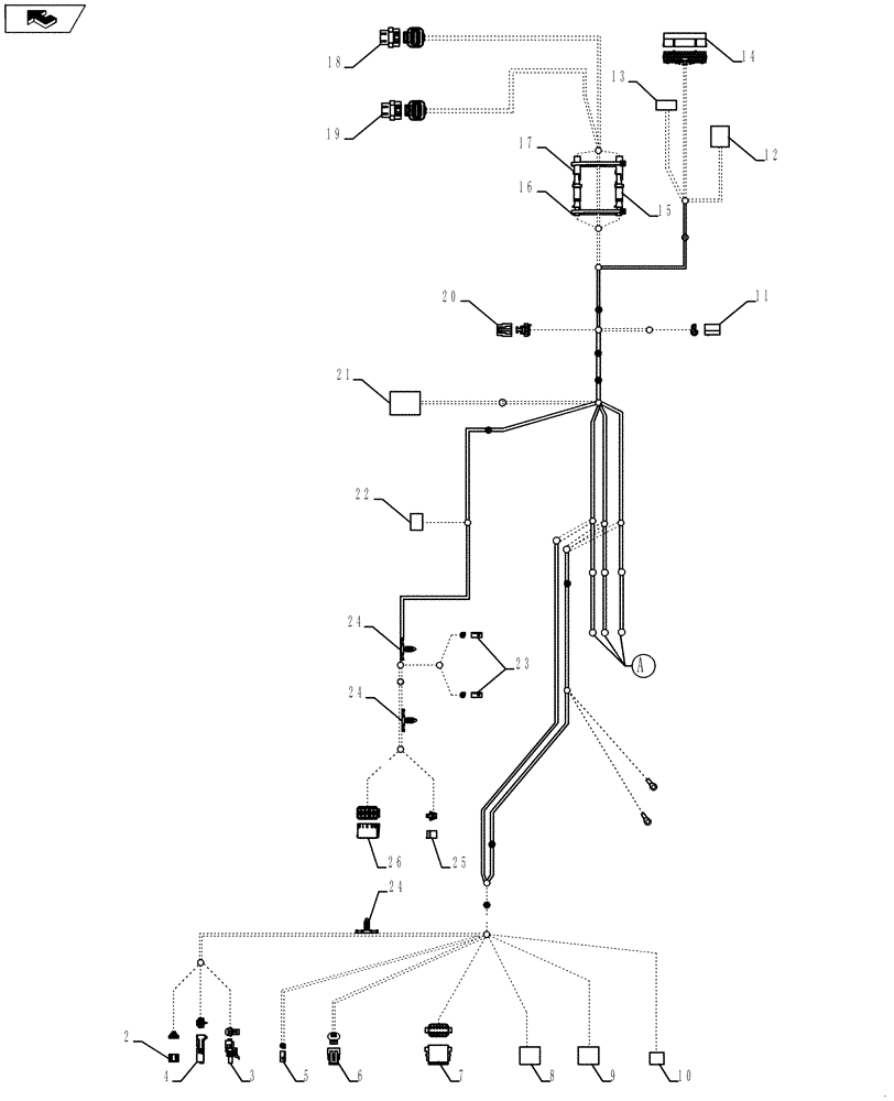
1

84519650

WIRE HARNESS

Cab, Inc. 2 - 26, Continued on Figures 55.100.07(02), 55.100.07(03)

1шт.

2

475083C1

CONNECTOR, ELEC

6 Pin, 12F, To Rotary Worklight Switch

1шт.

3

245480C1

ELEC CONNECTOR,1 Pin

110M

1шт.

4

245481C1

CONNECTION,ELECTRIC

1 Pin, 110F

1шт.

5

227429A1

CONNECTOR, ELEC

2 Pin, 50M, To Clutch Switch

1шт.

6

198550A1

CONNECTOR, ELEC

3 Pin, 52M, To Master Clutch Pedal Pod

1шт.

7

225389C1

CONNECTOR, ELEC

12 Pin, 9M, To Turn Signal Switch

1шт.

8

87700332

ELEC CONNECTOR

8 Pin, 51M, To FNRP

1шт.

9

87700107

ELEC CONNECTOR

6 Pin, 54M, To FNRP

1шт.

10

87696547

ELEC CONNECTOR,Female, 2 Cavities

2 Pin, 1122F, To Autoguidance Sensor

1шт.

11

877291R1

ELEC CONNECTOR,Female

2 Pin, 171M, To Radar

1шт.

12

197503A1

CONNECTOR, ELEC

8 Pin, 375M, To Roof Harness

1шт.

13

87382919

WIRE CONNECTOR,Male, 6 Cavities

6 Pin, 111M, To Power Mirror

1шт.

14

496155A1

12 Pin, 13M, To Roof Harness

1шт.

15

113699A1

RECTIFIER

268F, 268M

2шт.

16

631801C1

CONNECTION

267M

2шт.

17

739070C1

CONNECTOR, ELEC

267F

2шт.

18

82016219

MULTIPOLE CONNECTOR,Female, 26 Pole

26 Pin, 427M, CN1

1шт.

19

82028493

MULTIPOLE CONNECTOR,Female, 26 Pole

26 Pin, 426M, CN3

1шт.

20

227728A1

CONNECTION,ELECTRIC

3 Pin, 165M, To Auxillary Power A-Post

1шт.

21

84400777

LOCKING TAB,Wedge Lock

31 Pin, 60M, To Front to Rear Harness

1шт.

22

87702265

ELEC CONNECTOR

8 Pin, 164M, To Foot Throttle

1шт.

23

227429A1

CONNECTOR, ELEC

2 Pin, 162M, 163M, To Left and Right brake

2шт.

24

369917A1

CLIP

3шт.

25

225253C1

CONNECTOR, ELEC

6 Pin, 161F, To Ignition Switch

1шт.

26

87426885

CONNECTOR, ELEC

10 Pin, To headlight Switch

1шт.

Выбрано товаров: 26