Запчасти Case IH MAGNUM 260 (55.512.CS[02]) - ARMREST, ARMREST CONTROLS - ELECTROHYDRAULIC REMOTE LEVERS AND JOYSTICK, 4 AND 8 REMOTES, CONTROL (55) - ELECTRICAL SYSTEMS

Схема запчастей Case IH MAGNUM 260 - (55.512.CS[02]) - ARMREST, ARMREST CONTROLS - ELECTROHYDRAULIC REMOTE LEVERS AND JOYSTICK, 4 AND 8 REMOTES, CONTROL (55) - ELECTRICAL SYSTEMS
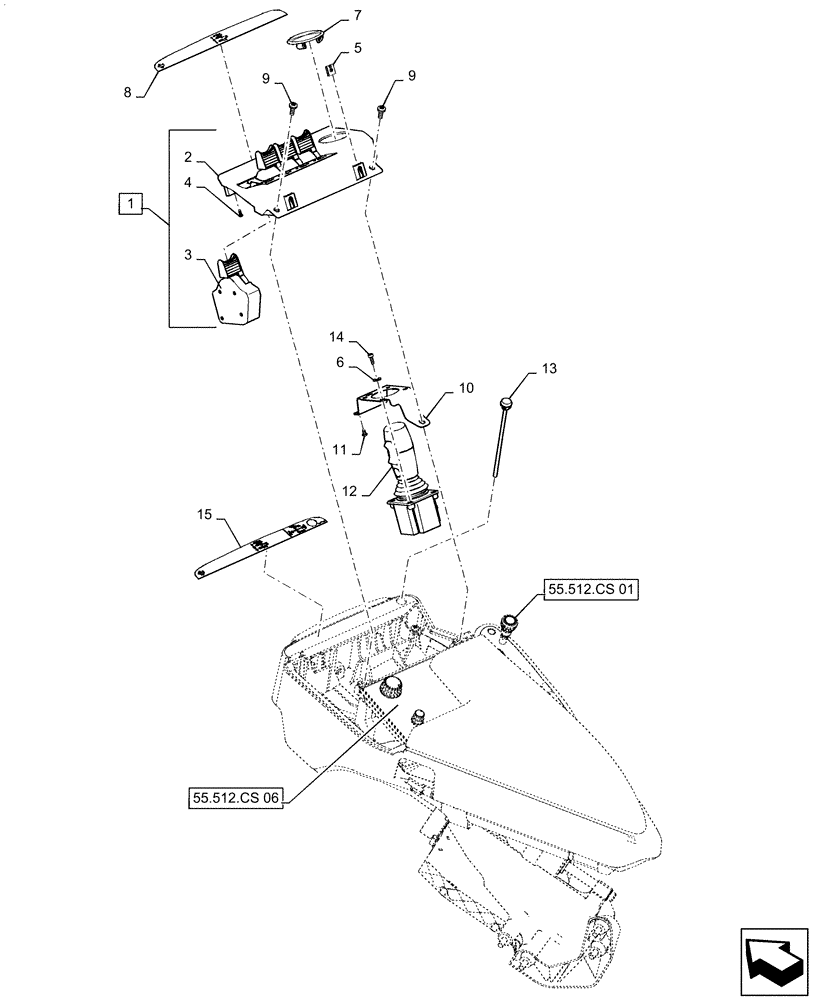
55.512.cs 01
1
5
2
55.512.cs 06
15
13
10
11
6
9
9
4
8
12
3
14
7
FIT
1:1
100%

Артикул

Название

Примечание

Количество

1

84202321

TOGGLE SWITCH

Assembly, 4 EHR, Incl 2 - 4

1шт.

2

84228884

PANEL

EHR

1шт.

3

87486098

ROCKER SWITCH

EHR

4шт.

4

50631

SCREW,Self Tapping, M6 x 0.5" OAL

Tapping

8шт.

5

84148337

SPRING NUT

5шт.

6

14498801

WASHER,6.4mm ID x 16.3mm OD x 1mm Thk

1шт.

7

87725444

BLANK-OFF PLUG,57.5mm OD, Black

Less Joystick, 4 EHR Only

1шт.

8

84126449

DECAL

EHR, Less Joystick, 4 EHR Only

1шт.

9

13276217

SCREW,Pozidriv Pan Hd, M6 x 16mm, Cl 5.8, Full Thd

2шт.

10

84202338

BRACKET

Joystick

1шт.

11

15687901

SELF-TAP SCREW,Cross Pan Hd, M4.2 x 9.50mm

2шт.

12

84208738

JOYSTICK

Proportional Rocker, If Equipped

1шт.

12

84208738R

REMAN-JOYSTICK

MAGNUM 235, MAGNUM 260, MAGNUM 290,MAGNUM 315, MAGNUM 340 ALL TIER 4A, MAGNUM 235, MAGNUM 260, MAGNUM 290, MAGNUM 315, MAGNUM 340, MAGNUM 370 ALL TIER 4A CVT

1шт.

12

84208738C

CORE-JOYSTICK

Return Number

1шт.

13

87485775

SWITCH ASSY

Joystick Float

1шт.

14

86639293

HEX SOC SCREW,M4 x 12mm, Cl 8.8

4шт.

15

84126448

DECAL

EHR, With Joystick

1шт.

Выбрано товаров: 17