Запчасти Case IH MAGNUM 280 (35.220.AM[02]) - TRAILER BRAKE VALVE - ASN ZGRF01054 (35) - HYDRAULIC SYSTEMS

Схема запчастей Case IH MAGNUM 280 - (35.220.AM[02]) - TRAILER BRAKE VALVE - ASN ZGRF01054 (35) - HYDRAULIC SYSTEMS
16
7
21
4
25
15
12
17
14
10
19
23
3
9
18
1
20
2
11
13
6
5
24
8
22
FIT
1:1
100%

Артикул

Название

Примечание

Количество

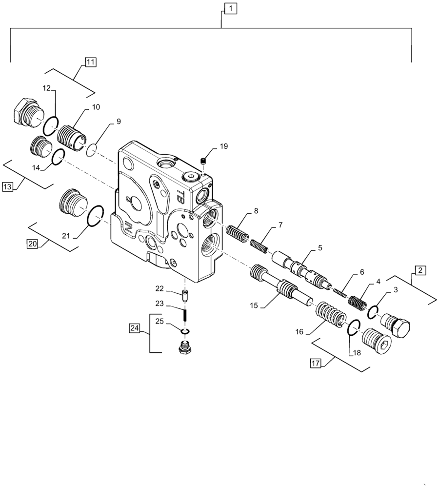
1

47778147

VALVE

Trailer Brake, Incl 2 - 26

1шт.

2

87639241

PLUG,M22 x 1.5

Incl 3

1шт.

3

637-63193

O-RING,2.2mm Thk x 19.3mm ID, Cl 6, 90 Duro

1шт.

4

87444752

BRAKE SPRING

Trailer Brake Return

1шт.

5

87324553

SPOOL

Feathering, Trailer Brake

1шт.

6

86988723

SPOOL

Priority, Trailer Brake

1шт.

7

87444751

BRAKE SPRING

Inner Trailer Brake

1шт.

8

87444750

BRAKE SPRING

Outer Trailer Brake

1шт.

9

87449989

SHIM,22.5mm OD x 0.28mm Thk

1шт.

10

86988724

PISTON

Priority

1шт.

11

87454597

PLUG

Incl 12

1шт.

12

637-64296

O-RING,2.9mm Thk x 29.6mm ID, Cl 6, 90 Duro

1шт.

13

221580A1

PLUG,M27 x 2 ORB

Incl 14

3шт.

14

637-64236

O-RING,2.9mm Thk x 23.6mm ID, Cl 6, 90 Duro

3шт.

15

87627346

SPOOL

Auxillary Priority

1шт.

16

408447A1

COMPRESSION SPRING

24mm OD x 54.2mm L

1шт.

17

87639275

PLUG

Incl 18

1шт.

18

237-6012

O-RING,0.116" Thk x 0.924" ID, -912, Cl 6, 90 Duro

1шт.

19

NSS

NOT SOLD SEPARAT

Expansion, Incl in 1

5шт.

20

221578A1

PLUG,M18 x 1.5 ORB

Incl 21

1шт.

21

637-63153

O-RING,2.2mm Thk x 15.3mm ID, Cl 6, 90 Duro

1шт.

22

87648631

PIN,8mm OD x 19mm L

Load Sense

1шт.

23

87648596

SPRING,3.81mm OD x 23.19mm L

3.8mm OD x 23.2mm L

1шт.

24

87648607

PLUG,M12 x 1.5 ORB

Incl 25

1шт.

25

637-63093

O-RING,2.2mm Thk x 9.3mm ID, Cl 6, 90 Duro

1шт.

Выбрано товаров: 25