Запчасти Case IH MAGNUM 280 (21.135.AQ[07]) - VAR - 429330, 429331, 429332, 429333 - RANGE VALVE BLOCK (87323842) (21) - TRANSMISSION

Схема запчастей Case IH MAGNUM 280 - (21.135.AQ[07]) - VAR - 429330, 429331, 429332, 429333 - RANGE VALVE BLOCK (87323842) (21) - TRANSMISSION
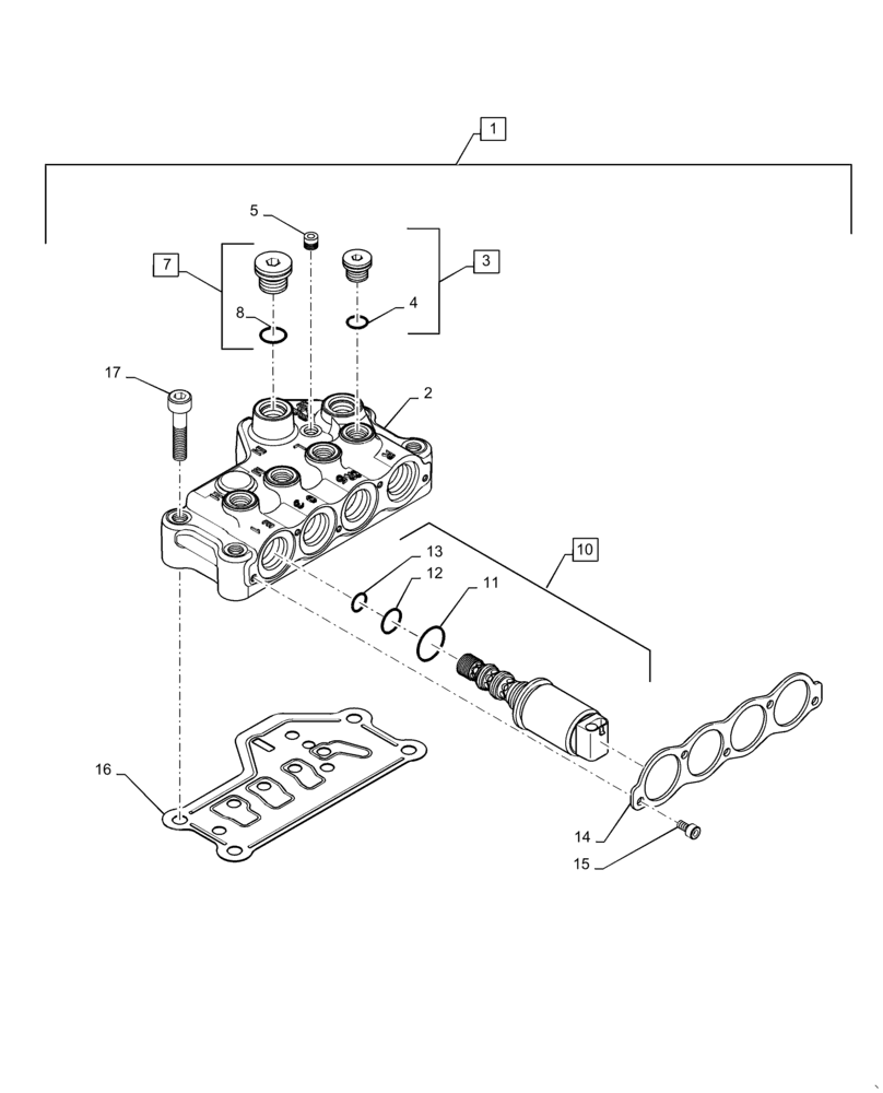
1
7
10
17
13
3
4
2
14
5
15
8
12
16
11
FIT
1:1
100%

Артикул

Название

Примечание

Количество

1

87323842

VALVE

Range, Incl 2 - 15

1шт.

2

NSS

NOT SOLD SEPARAT

Valve Body, Incl in 1

1шт.

3

221576A1

PLUG,Hex Soc, M14 x 1.5, ORB

Incl 4

5шт.

4

14437785

O-RING,11.3mm ID x 2.4mm

1шт.

5

315168A1

PLUG

Expansion

1шт.

7

86598046

PLUG,M18 x 1.5 ORB

Incl 8

1шт.

8

637-63153

O-RING,2.2mm Thk x 15.3mm ID, Cl 6, 90 Duro

1шт.

10

87440439

SOLENOID VALVE

MFD Solenoid, Low Clutch Solenoid, Mid Clutch Solenoid, High Clutch Solenoid; Incl 11 - 13

4шт.

11

87014033

O-RING,0.07" Thk x 0.801" ID, -19, Cl 7, 75 Duro

1шт.

12

238-7016

O-RING,0.07" Thk x 0.614" ID, -16, Cl 7, 75 Duro

1шт.

13

238-7015

O-RING,0.07" Thk x 0.551" ID, -15, Cl 7, 75 Duro

1шт.

14

86985026

COVER,3mm Thk

PWM Plate

1шт.

15

864-5010

HEX SOC SCREW,M5 x 10mm, Cl 8.8

6шт.

16

87399290

GASKET,0.92mm Thk

PWM

1шт.

17

864-10055

HEX SOC SCREW,M10 x 55mm, Cl 8.8

4шт.

Выбрано товаров: 15