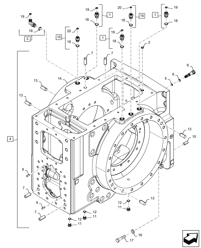
Запчасти Case IH MAGNUM 280 (27.100.AB[02]) - VAR - 429357, 429358 - REAR AXLE HOUSING - POWERSHIFT, HD REAR AXLE (27) - REAR AXLE SYSTEM

Схема запчастей Case IH MAGNUM 280 - (27.100.AB[02]) - VAR - 429357, 429358 - REAR AXLE HOUSING - POWERSHIFT, HD REAR AXLE (27) - REAR AXLE SYSTEM
1
18
16
4
13
20
19
3
6
19
14
1
17
7
18
7
7
15
13
18
13
18
11
9
10
8
11
1
19
18
5
12
9
20
7
15
13
11
12
18
12
2
19
FIT
1:1
100%

Артикул

Название

Примечание

Количество

1

700-162

HYD CONNECTOR,13/16" - 16 Male ORFS x M22 x 1.5 Male ORB

Incl 18, 19

3шт.

2

238-5114

O-RING,0.103" Thk x 0.612" ID, -114, Cl 5, 75 Duro

1шт.

3

700-326

ELBOW,90 Degree Elbow, 13/16" - 16 Male ORFS x M22 x 1.5 Male ORB

Incl 18, 19

1шт.

4

47692448

HOUSING

HD Final Drive, Powershift; Incl 5 - 14

1шт.

5

87016958

O-RING,0.103" Thk x 0.424" ID, -11, Cl 6, 90 Duro

1шт.

6

272344

O-RING,0.103" Thk x 0.487" ID, -112, Cl 6, 90 Duro

1шт.

7

37-11232

DOWEL,3/4" x 2"

4шт.

8

411075A1

FITTING

Diff Lock Pressure

1шт.

9

837-10020

DOWEL,M10 x 20

2шт.

10

837-16040

DOWEL,M16 x 40

2шт.

11

86598046

PLUG,M18 x 1.5 ORB

Incl 12

3шт.

12

86598101

O-RING,2.2mm Thk x 15.3mm ID, Cl 6, 90 Duro

3шт.

13

87742360

DOWEL,M20 x 50mm, HDN

4шт.

14

NSS

NOT SOLD SEPARAT

HOUSING, HD Final Drive, Powershift; Incl in 4

1шт.

15

87349824

HYD CONNECTOR,10mm Tube OD, Male, 11/16"-16 ORFS x M22 x 1.5 ORB

Incl 18, 20

2шт.

16

896-12016

WASHER,17.5mm ID x 30mm OD x 4mm Thk

2шт.

17

47682458

BOLT,M16 x 2 x 70mm, Cl 12.9

2шт.

18

86598102

O-RING,2.2mm Thk x 19.3mm ID, Cl 6, 90 Duro

6шт.

19

9992298

O-RING,0.07" Thk x 0.489" ID, -14, Cl 6, 90 Duro

4шт.

20

9993141

O-RING,0.07" Thk x 0.364" ID, -12, Cl 6, 90 Duro

2шт.

Выбрано товаров: 20