Запчасти Case IH MAGNUM 280 (33.224.AH[02]) - AIR COMPRESSOR - ASN ZHRF01233 (33) - BRAKES & CONTROLS

Схема запчастей Case IH MAGNUM 280 - (33.224.AH[02]) - AIR COMPRESSOR - ASN ZHRF01233 (33) - BRAKES & CONTROLS
17
6
1
22
23
14
23
7
13
19
20
15
11
18
9
18
2
8
9
9
10
5
9
24
24
21
1
12
21
4
3
16
FIT
1:1
100%

Артикул

Название

Примечание

Количество

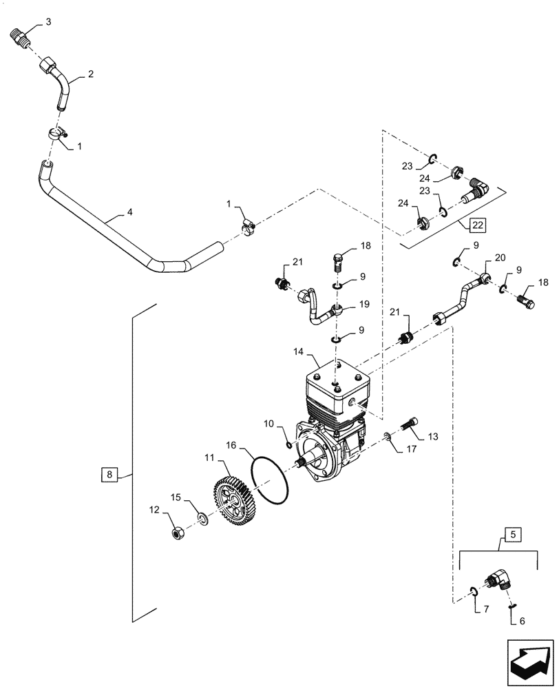
1

214-1412

HOSE CLAMP,#12, 0.69" - 1.25", Type F Worm

2шт.

2

84419013

TUBE

Air Compressor Intake

1шт.

3

218-446

HYD CONNECTOR,1-1/16" - 12 Male JIC x 3/4" - 14 Male NPTF

1шт.

4

47434256

AIR HOSE

Air Brake

1шт.

5

5194728

90 ELBOW

Incl 6, 7

1шт.

6

5185512

O-RING,0.07" Thk x 0.614" ID, -16, Cl 6, 90 Duro

1шт.

7

82016732

SEAL,19.6mm ID x 24.3mm OD x 1.5mm Thk

1шт.

8

47938713

AIR COMPRESSOR

159cc, Water Cooled, Incl 9 - 24

1шт.

9

87667805

SEALING WASHER,16mm ID x 24mm OD x 1.5mm

4шт.

10

84441024

O-RING,9.19mm ID x 2.62mm Thk

1шт.

11

87520321

GEAR

1шт.

12

84307309

NUT

1шт.

13

14422121

HEX SOC SCREW,M12 x 35mm, Cl 8.8, Full Thd

3шт.

14

48129650

159cc, Water Cooled

AIR COMPRESSOR

1шт.

15

84441028

LOCKING RING

1шт.

16

84441025

O-RING

1шт.

17

892-11012

LOCK WASHER,M12

3шт.

18

87736842

BANJO BOLT,M16 x 1.5 x 37mm

2шт.

19

47941614

HOSE

Air Compressor Coolant Out

1шт.

20

47941613

HOSE

Air Compressor Coolant Inlet

1шт.

21

84154645

PIPE FITTING

2шт.

22

47957584

FITTING

Incl 23, 24

1шт.

23

48038642

O-RING

2шт.

24

48038643

NUT

2шт.

Выбрано товаров: 24