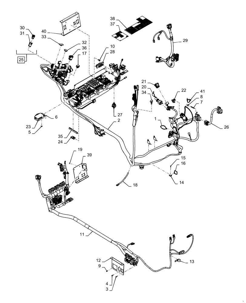
Запчасти Case IH MAGNUM 280 (55.510.BP[01]) - VAR - 420010, 420012, 449112, 449058, 449059, 429373, 429374 - CAB ELECTRICAL - BSN - ZERF08099 (55) - ELECTRICAL SYSTEMS

Схема запчастей Case IH MAGNUM 280 - (55.510.BP[01]) - VAR - 420010, 420012, 449112, 449058, 449059, 429373, 429374 - CAB ELECTRICAL - BSN - ZERF08099 (55) - ELECTRICAL SYSTEMS
11
3
37
24
6
15
13
28
29
16
8
7
23
14
30
31
41
25
4
38
32
18
17
40
27
21
36
39
12
26
22
19
35
10
33
20
5
9
2
34
1
FIT
1:1
100%

Артикул

Название

Примечание

Количество

1

A169433

CABLE TIE,304.8mm L

2шт.

2

47650192

WIRE HARNESS

Cab

1шт.

3

780-34319

SELF-TAP SCREW,Hex Wash Hd, M4.8 x 19

12шт.

4

864-6016

HEX SOC SCREW,M6 x 16mm, Cl 8.8

6шт.

5

193-1000

NUT,Keps, w/LW,#10-32

2шт.

6

490-11010

SCREW,Cross Pan Hd, #10-32 x 5/8"

2шт.

7

13791321

SET SCREW,Hex Skt, M8 x 50mm, Flat Pt

9шт.

8

825-5148

SERRATED NUT,M8, Flg Ser

9шт.

9

86625213

HEX SOC SCREW,M5 x 12mm, Cl 8.8

16шт.

10

781-24820

SELF-TAP SCREW,Hex Flg, M8 x 1.25 x 20mm

5шт.

11

47562538

WIRE HARNESS

Cab Outside

1шт.

12

47575585

BRACKET

Trans Harness Connector

1шт.

13

229357A1

CLAMP

2шт.

14

86590413

BASE,15.87mm W x 22.22mm OAL x 9.9mm Thk

Wire Tie

30шт.

15

445395

RIVET,Pop, 4.8mm OD x 18.1mm L

30шт.

16

86566989

CABLE TIE,208mm L

30шт.

17

84354341

SWITCH

Aux Headlamp Bypass

1шт.

18

84341718

CABLE

Ground Strap

1шт.

19

825-2405

FLANGE NUT,M5 x .8, Flg, Cl 8

8шт.

20

427182A1

IGNITION SWITCH

W/ Keys

1шт.

21

86989942

LIGHT SWITCH

Rocker, Light Console

1шт.

22

177250A1

LIGHT SWITCH

Rotary

1шт.

23

84414345

FLASHER UNIT

1шт.

24

84268097

WIRE HARNESS

Cab Flasher

1шт.

25

432239A1

CIGARETTE LIGHTER

Incl 30, 31

1шт.

26

47562438

WIRE HARNESS

Hood Adapter

1шт.

27

190158A1

BLOCK

Junction, B+ Cable through Wall

1шт.

28

84594731

JUNCTION BLOCK

Terminal, 3 Stud Feed Thru

1шт.

29

47562424

WIRE HARNESS

Rear Frame LF

1шт.

30

87450396

MOUNTING PARTS

1шт.

31

87450395

BASE

Power Outlet

1шт.

32

82022823

PLUG

Blanking Plate, Radar Signal Socket

1шт.

33

406324A2

PLUG

Hazard, Rear Wiper, Beacon

3шт.

34

300655A1

POWER SOCKET

Single Pole

1шт.

35

313248A2

LINING

Rear Shelf

1шт.

36

47510957

ROCKER SWITCH

EHR Hitch Enable

1шт.

37

48163202

Relay Chart

DECAL

1шт.

38

47640086

DECAL

Fuse Chart

1шт.

39

47557510

BRACKET

Rear Cab Connector

1шт.

40

47651858

BRACKET

Connector Mounting

1шт.

41

84292754

CLIP,Cable Tie W/ Fir Tree, 5mm OD x 203mm OAL

203mm

1шт.

Выбрано товаров: 41