Запчасти Case IH MAGNUM 280 (55.512.CS[02]) - VAR - 420010, 420012, 429373, 429374, 449058, 449059 - ARMREST CONTROLS - ELECTROHYDRAULIC REMOTE LEVERS AND JOYSTICK, 4 AND 8 REMOTES (55) - ELECTRICAL SYSTEMS

Схема запчастей Case IH MAGNUM 280 - (55.512.CS[02]) - VAR - 420010, 420012, 429373, 429374, 449058, 449059 - ARMREST CONTROLS - ELECTROHYDRAULIC REMOTE LEVERS AND JOYSTICK, 4 AND 8 REMOTES (55) - ELECTRICAL SYSTEMS
15
9
55.512.cs 01
55.512.cs 06
12
14
7
4
11
8
10
13
9
1
3
2
5
6
FIT
1:1
100%

Артикул

Название

Примечание

Количество

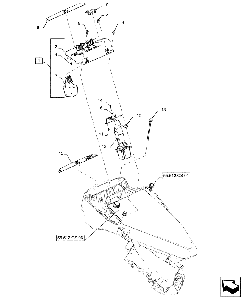
1

84202321

TOGGLE SWITCH

Assembly, 4 EHR, Incl 2 - 4

1шт.

2

84228884

PANEL

EHR

1шт.

3

87486098

ROCKER SWITCH

EHR

4шт.

4

50631

SCREW,Self Tapping, M6 x 0.5" OAL

Tapping

8шт.

5

84148337

SPRING NUT

5шт.

6

14498801

WASHER,6.4mm ID x 16.3mm OD x 1mm Thk

1шт.

7

87725444

BLANK-OFF PLUG,57.5mm OD, Black

Less Joystick, 4 EHR Only

1шт.

8

84126449

DECAL

Less Joystick, 4 EHR Only

1шт.

9

13276217

SCREW,Pozidriv Pan Hd, M6 x 16mm, Cl 5.8, Full Thd

2шт.

10

84202338

BRACKET

Joystick

1шт.

11

15687901

SELF-TAP SCREW,Cross Pan Hd, M4.2 x 9.50mm

2шт.

12

84208738

JOYSTICK

Proportional Rocker

1шт.

12

84208738R

REMAN-JOYSTICK

Proportional Rocker

1шт.

12

84208738C

CORE-JOYSTICK

Return Number

1шт.

13

87485775

SWITCH ASSY

Joystick Float

1шт.

14

86639293

HEX SOC SCREW,M4 x 12mm, Cl 8.8

4шт.

15

84126448

DECAL

EHR, With Joystick

1шт.

Выбрано товаров: 17