Запчасти Case IH MAGNUM 340 (37.100.AA[10]) - VAR - 429391 - HI CAP CAT4 DRAWBAR, SUPPORT FOR CAMS W/SHLDR BOLT STDRA (37) - HITCHES, DRAWBARS & IMPLEMENT COUPLINGS

Схема запчастей Case IH MAGNUM 340 - (37.100.AA[10]) - VAR - 429391 - HI CAP CAT4 DRAWBAR, SUPPORT FOR CAMS W/SHLDR BOLT STDRA (37) - HITCHES, DRAWBARS & IMPLEMENT COUPLINGS
5
33
25
22
3
29
2
34
7
21
32
31
26
27
15
17
27
1
14
12
16
8
20
10
25
18
6
19
23
30
24
4
27
31
9
28
11
13
27
FIT
1:1
100%

Артикул

Название

Примечание

Количество

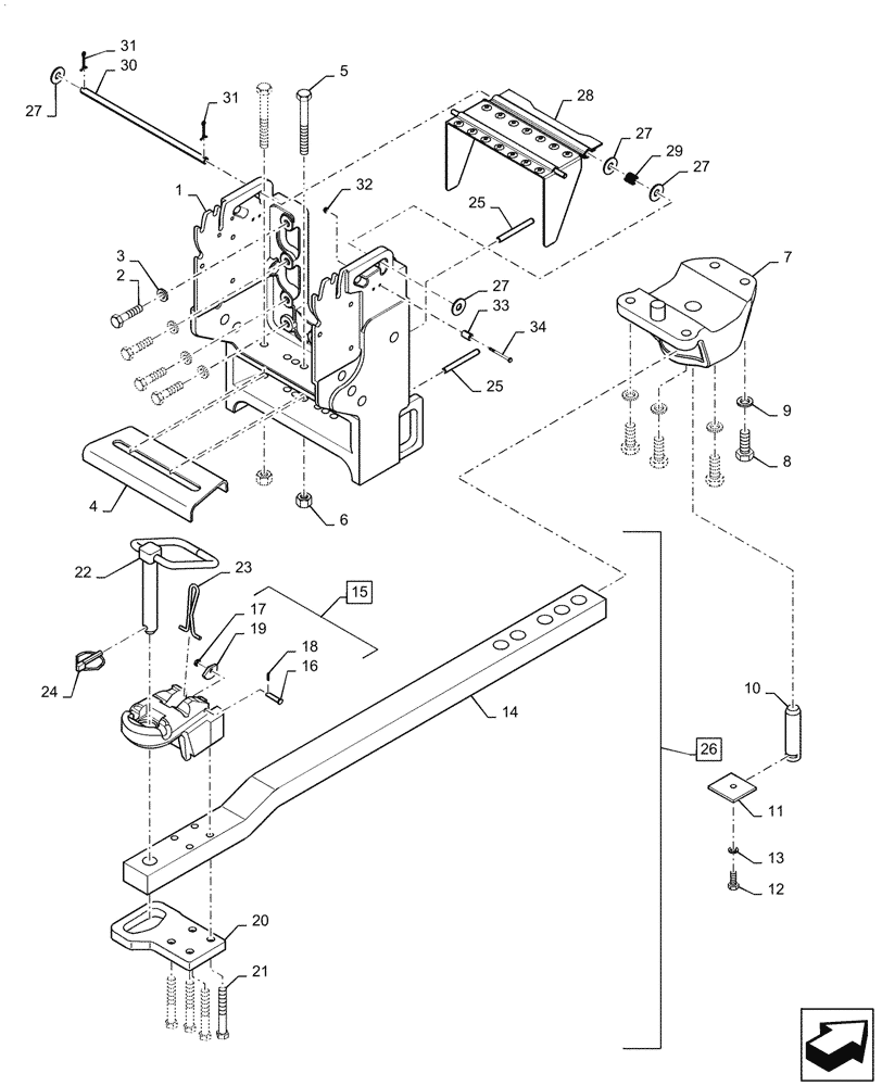
1

87712383

FRAME,Hitch

Drawbar Rear

1шт.

2

87698770

LOCK BOLT,M16 x 2 x 80mm, Cl 10.9

Lock Chem M16 x 80 10.9 phc

10шт.

3

896-12016

WASHER,17.5mm ID x 30mm OD x 4mm Thk

10шт.

4

238495A3

PLATE

Drawbar Wear,

1шт.

5

827-16160

BOLT,Hex, M16 x 2 x 160mm, Cl 10.9

2шт.

6

832-10416

NUT,M16 x 2, Cl 8

2шт.

7

87720345

BRACKET

Assy, Drawbar Pivot - CAT IV

1шт.

8

828-20070

BOLT,Hex, M20 x 2.5 x 70mm, Cl 10.9

4шт.

9

896-12020

WASHER,22mm ID x 37mm OD x 4mm Thk

4шт.

10

87722027

PIN,44.4mm OD x 140mm L

Drawbar Pivot

1шт.

11

87720346

RETAINER

Drawbar Pin

1шт.

12

627-16030

BOLT,Hex, M16 x 2 x 30mm, Cl 10.9, Full Thd

1шт.

13

892-11016

LOCK WASHER,16.4mm ID x 27.4mm OD x 5mm Thk

1шт.

14

87688072

SWINGING DRAWBAR

1шт.

15

87615031

STRAP

Incl 16 - 19

1шт.

16

87016625

CLEVIS PIN,3/8" x 2"

1шт.

17

280251

COTTER PIN,3/32" OD x 1" OAL

Secondary

1шт.

18

86625241

WASHER,0.41" ID x 0.81" OD x 0.09" Thk

1шт.

19

87617590

STOP LOCK

1шт.

20

87574391

STEEL PLATE

Safety Chain

1шт.

21

827-20130

BOLT,Hex, M20 x 2.5 x 130mm, Cl 10.9

4шт.

22

87615032

PIN,50.93mm OD x 243.3mm L

Drawpin Assy

1шт.

23

375721A1

PIN

Pin

1шт.

24

87522067

LOCK PIN,11.5mm OD

Retaining

1шт.

25

37-11232

DOWEL,3/4" x 2"

Pin

2шт.

26

87688064

SWINGING DRAWBAR

Assy, Incl 14 - 24

1шт.

27

495-21069

WASHER,5/8"

4шт.

28

379252A2

SHIELD

Assy, PTO Top Weld

1шт.

29

179657A2

SPRING

Compression

1шт.

30

225672A2

ROD

PTO Shield Pivot

1шт.

31

733-5040

COTTER PIN,M5 x 40

2шт.

32

86511444

FLANGE NUT,Hex, M6 x 1

4шт.

33

87352470

TUBE SPACER

4шт.

34

827-6070

BOLT,Hex, M6 x 70mm, Cl 10.9

4шт.

35

87681203

SET SCREW,Hex Skt, M12 x 20mm, Cl 8.8, Full Thd, Cup Pt

4шт.

Выбрано товаров: 35