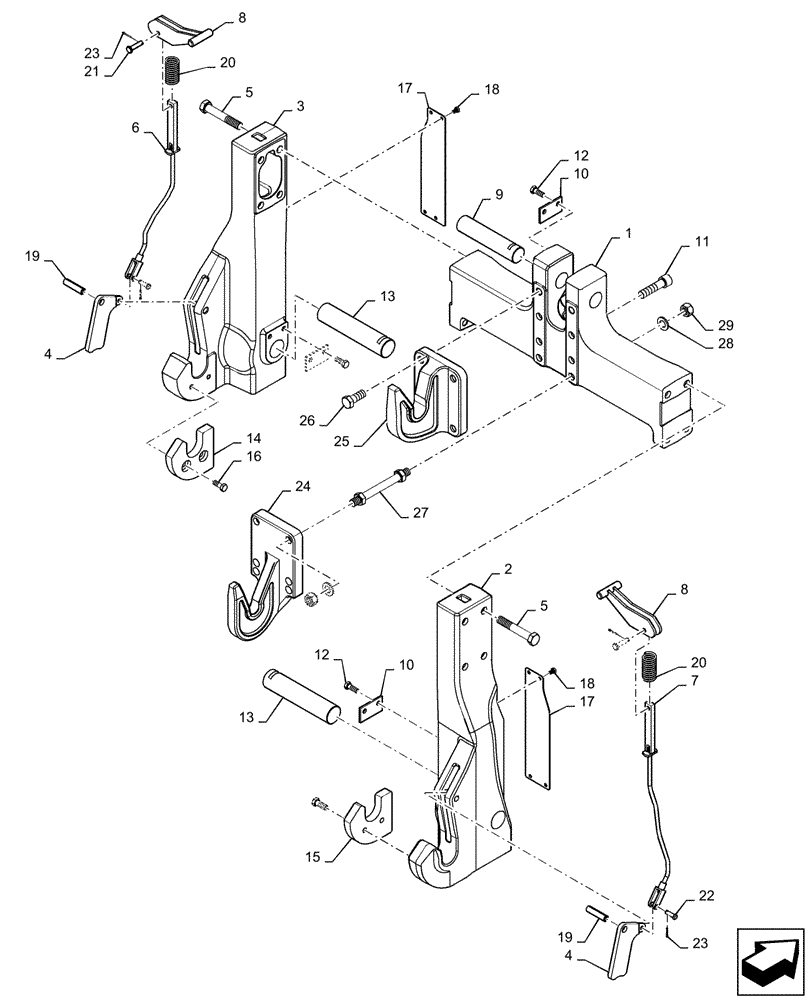
Запчасти Case IH MAGNUM 340 (37.120.AW[03]) - VAR - 429405, 429406, 429407 - QUICK-HITCH COUPLER, CATEGORY IV-N/III (37) - HITCHES, DRAWBARS & IMPLEMENT COUPLINGS

Схема запчастей Case IH MAGNUM 340 - (37.120.AW[03]) - VAR - 429405, 429406, 429407 - QUICK-HITCH COUPLER, CATEGORY IV-N/III (37) - HITCHES, DRAWBARS & IMPLEMENT COUPLINGS
5
22
4
15
20
10
6
18
23
9
23
17
8
17
10
7
20
11
4
24
13
12
25
2
12
8
21
27
26
13
28
16
1
3
19
5
29
14
18
19
FIT
1:1
100%

Артикул

Название

Примечание

Количество

1

84516839

CROSSBAR

Quick Coupler Cat 4N/3

1шт.

2

84529018

HOOK

RH Quick Coupler Cat 4N/3

1шт.

3

84529025

HOOK

LH Quick Coupler Cat 4N/3

1шт.

4

87395952

LATCH

Quick Coupler

2шт.

5

827-20120

BOLT,Hex, M20 x 2.5 x 120mm, Cl 10.9

8шт.

6

84538258

LINKAGE

LH Coupler Latch

1шт.

7

84538261

LINKAGE

RH Coupler Latch

1шт.

8

87599209

HANDLE

Quick Coupler

2шт.

9

84251831

PIN

Quick Coupler, Top Link

1шт.

10

409664A1

BLOCK

Retainer

3шт.

11

84233548

HEX SOC SCREW,M20 x 80mm, Cl 12.9

2шт.

12

43258

BOLT,Hex, M12 x 1.75 x 20mm, Cl 10.9, Full Thd

6шт.

13

84531372

PIN

Quick Coupler, Lower Link

2шт.

14

84267587

SPACER

LH Quick Coupler Cat 4N

1шт.

15

84267586

SPACER

RH Quick Coupler Cat 4N

1шт.

16

627-12030

BOLT,Hex, M12 x 1.75 x 30mm, Cl 10.9, Full Thd

4шт.

17

84531371

COVER

Quck Coupler Latch Linkage

2шт.

18

47514410

BOLT,Hex, M8 x 12mm, Cl 10.9

8шт.

19

87012660

PIN,16mm OD x 65mm L, Coiled

2шт.

20

70-4340T1

COMPRESSION SPRING

2шт.

21

728-1045

CLEVIS PIN,M10 x 45

2шт.

22

439-1620

HEADED PIN,3/8" x 1 1/4", G2

2шт.

23

733-3220

COTTER PIN,M3.2 x 20

4шт.

24

87681150

HOOK

Top, Cat 3

1шт.

25

84519619

HOOK

Top, Cat 4N

1шт.

26

627-20050

BOLT,Hex, M20 x 2.5 x 50mm, Cl 10.9, Full Thd

2шт.

27

827-20170

BOLT,Hex, M20 x 2.5 x 170mm, Cl 10.9

2шт.

28

896-11020

WASHER,22mm ID x 37mm OD x 4mm Thk

2шт.

29

829-1420

NUT,M20, Cl 10

2шт.

Выбрано товаров: 29