Запчасти Case IH 5120 (9-110) - MIRROR, ROPS WITH CANOPY (09) - CHASSIS/ATTACHMENTS

Схема запчастей Case IH 5120 - (9-110) - MIRROR, ROPS WITH CANOPY (09) - CHASSIS/ATTACHMENTS
8
7
11
5
3
1
2
6
4
10
9
FIT
1:1
100%

Артикул

Название

Примечание

Количество

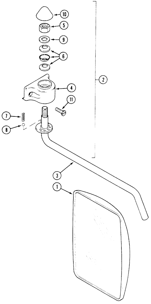
1

1344062C1

MIRROR

- standard

1шт.

2

3399580R91

SUPPORT

- assembly, Includes: Ref. 3 - 10

1шт.

3

NSS

NOT SOLD SEPARAT

ARM - mirror (Order 3399580R91)

1шт.

4

3399573R1

SUPPORT

HOLDER - mirror

1шт.

5

3079424R1

THIN NUT,M12 x 20, Thin

1шт.

6

934223R1

BELLEVILLE WASHER,M12 Bolt Size x 25mm OD x 1.5mm Thk

Lock M12.2 ID x 25 OD x 1.5 Thk

3шт.

7

3399562R1

SPRING

- compression

1шт.

8

511-1060

BALL,6mm Dia

- steel, 6 mm, Class 28

1шт.

9

496-21053

WASHER,17/32" x 1 1/16" x .134"

- flat, 17/32 x 1-1/16 x 1/8 inch, hardened

1шт.

10

3399567R1

CAP

- cover

1шт.

11

543-710

SCREW,Phillips Drive, Flat HD, M8 x 20mm, Cl 4.8

- flat head, 8 x 20 mm, Class 4.8

2шт.

Выбрано товаров: 11