Запчасти Case IH 5140 (9-022) - TRAILER HITCH, LEMOINE (09) - CHASSIS/ATTACHMENTS

Схема запчастей Case IH 5140 - (9-022) - TRAILER HITCH, LEMOINE (09) - CHASSIS/ATTACHMENTS
11
5
8
3
6
9
13
19
21
15
14
18
12
4
23
17
11
10
2
20
22
16
1
7
FIT
1:1
100%

Артикул

Название

Примечание

Количество

REF

INSTRUCTION

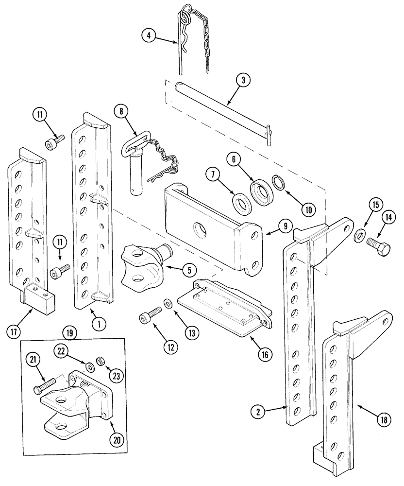
HITCH - assembly, Includes Ref: 1-9

1шт.

1

1534664C1

SUPPORT

- left

1шт.

2

1534665C1

SUPPORT

- right

1шт.

3

1974025C1

PIN

- hitch

2шт.

4

1974036C1

LINCH PIN

CLIP - spring, with chain

1шт.

1974017C1

SUPPORT

CLEVIS - assembly, Includes Ref: 5-9

1шт.

5

NSS

NOT SOLD SEPARAT

CLEVIS - trailer hitch

1шт.

6

NSS

NOT SOLD SEPARAT

COLLAR -

1шт.

7

NSS

NOT SOLD SEPARAT

SPACER - clevis

1шт.

8

NSS

NOT SOLD SEPARAT

PIN - assembly, pivot

1шт.

9

1974022C1

SUPPORT

BRACKET - clevis

1шт.

10

1974037C1

CIRCLIP,Ext, M37.1

RING - snap

1шт.

11

863-16040

HEX SOC SCREW,M16 x 40mm, Cl 12.9

BOLT - hex socket, 16 - 2.0 x 40 mm, Class 12.9

8шт.

12

828-16055

BOLT,Hex, M16 x 2 x 55mm, Cl 10.9

2шт.

13

896-12016

WASHER,17.5mm ID x 30mm OD x 4mm Thk

- flat, 17.5 x 30 x 4 mm, hardened

2шт.

14

628-20055

BOLT,Hex, M20 x 2.5 x 55mm, Cl 10.9, Full Thd

- hex, full threads, 20 - 2.5 x 55 mm

1шт.

15

896-16020

WASHER,22mm ID x 44mm OD x 5mm Thk

- flat, 22 x 44 x 5 mm, hardened

1шт.

16

1960217C4

SHIELD

- assembly, PTO

1шт.

17

1534662C1

HITCH BRACKET

SUPPORT - left, short

1шт.

18

1534663C1

HITCH BRACKET

SUPPORT - right, short

1шт.

19

REF

INSTRUCTION

PACKAGE - trailer hitch rework,(Order components), Includes Ref: 20-23

1шт.

20

131389A1

TRAILER HITCH

CLEVIS - trailer hitch

1шт.

21

828-16070

BOLT,Hex, M16 x 2 x 70mm, Cl 10.9

4шт.

22

896-12016

WASHER,17.5mm ID x 30mm OD x 4mm Thk

- flat, 17.5 x 30 x 4 mm, hardened

4шт.

23

829-1416

NUT,M16, Cl 10

4шт.

Выбрано товаров: 25