Запчасти Case IH 5230 (6-052) - TRANSMISSION, CREEPER CONTROL, INTERNAL (06) - POWER TRAIN

Схема запчастей Case IH 5230 - (6-052) - TRANSMISSION, CREEPER CONTROL, INTERNAL (06) - POWER TRAIN
2
4
9
5
12
11
13
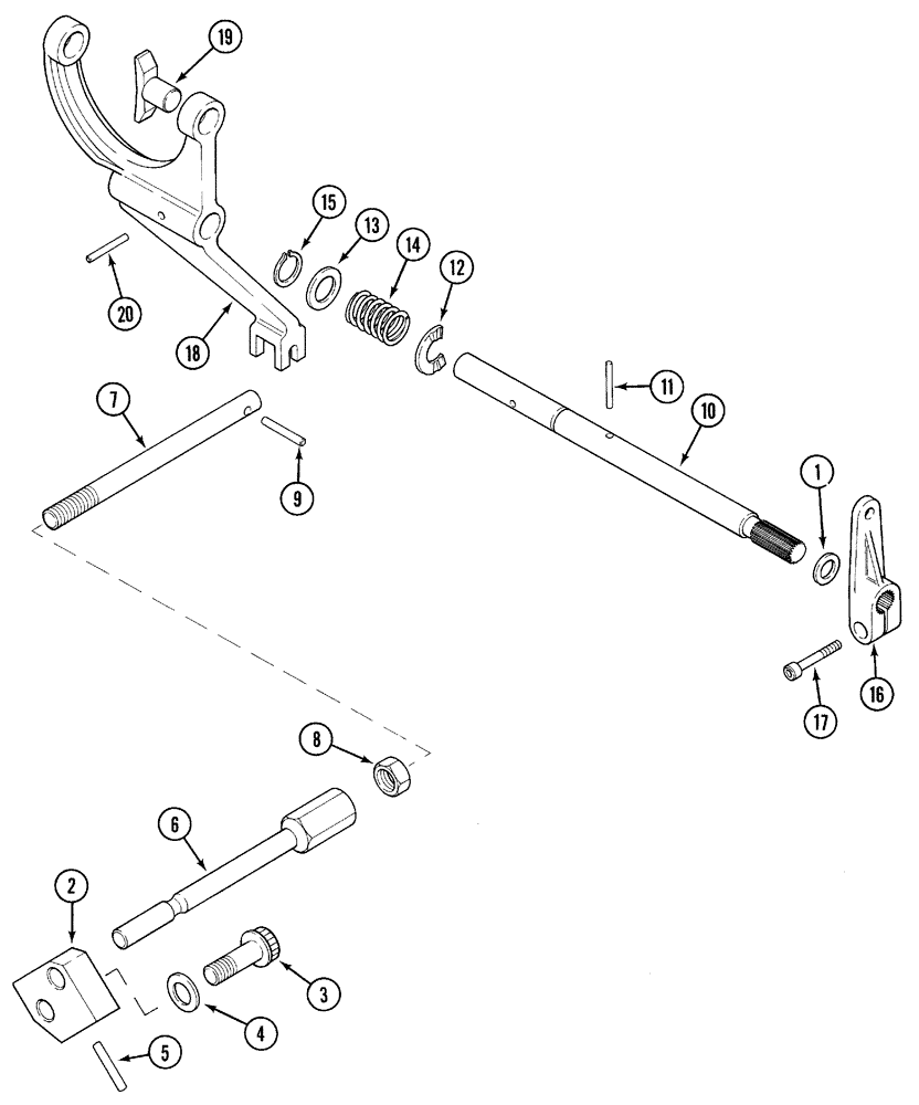
1
16
7
17
6
3
15
8
10
20
19
14
18
FIT
1:1
100%

Артикул

Название

Примечание

Количество

REF

INSTRUCTION

KIT - Synchro-Creeper, Field, See also Figures 6-2, 6-20, 6-50, Includes Ref: 1-20

1шт.

1

A63399

OIL SEAL,15.87mm ID x 28.73mm OD x 6.35mm Thk

- oil (Trans. - JKA68259)

1шт.

2

1345779C1

HOUSING

- creeper interlock (Trans. - JKA68259)

1шт.

3

868-10035

12 PT SCREW,M10 x 35mm, Cl 12.9

BOLT - flanged 12 pt, 10 - 1.5 x 35 mm, Class 12.9 (Trans. - JKA68259)

1шт.

4

895-11010

WASHER,11mm ID x 20mm OD x 2mm Thk

- plain, 11 x 20 x 2 mm (Trans. - JKA68259)

1шт.

5

A188005

PIN

- interlock (Trans. - JKA68259)

1шт.

6

A188009

ROD

- interlock (Trans. - JKA68259)

1шт.

7

A188010

ROD

- interlock, front (Trans. - JKA68259)

1шт.

8

829-1312

NUT,M12 x 1.75, Cl 10

- hex, 12 mm - 1.75, class 10 (Trans. - JKA68259)

1шт.

9

38-11616

LOCK PIN,1/4" x 1", Slotted

Pin, 1/4" x 1", Slotted

1шт.

1341000C1

SHAFT

- Assy, creeper engagement, Includes Ref 10-15

1шт.

10

NSS

NOT SOLD SEPARAT

SHAFT - creeper engagement

1шт.

11

37-1424

DOWEL,1/4" x 1 1/2"

PIN - dowel, 1/4 x 1-1/2 inch

1шт.

12

NSS

NOT SOLD SEPARAT

WASHER - detent

1шт.

13

396-21066

WASHER,16.66mm ID x 33.33mm OD x 4.27mm Thk

1шт.

14

G35350

SPRING

-

1шт.

15

100-1662

SNAP RING,#62, Ext

Ring, Snap, #62, Ext

1шт.

16

1531292C1

LEVER

- creeper engagement

1шт.

17

863-8020

HEX SOC SCREW,M8 x 20mm, Cl 12.9

BOLT - hex, socket, 8 - 1.25 x 20 mm, Class 12.9

1шт.

1345959C1

CLUTCH FORK

YOKE - assy, creeper engagement (Trans. JKA68260 - ), Includes Ref: 18, 19

1шт.

18

NSS

NOT SOLD SEPARAT

YOKE - creeper engagement

1шт.

19

NSS

NOT SOLD SEPARAT

FINGER - shift fork

2шт.

20

435-1820

GROOVED PIN,1/4" x 1 1/4", Type A

Pin, Grooved, 1/4" x 1 1/4", Type A

1шт.

1341002C1

CLUTCH FORK

YOKE - assy, creeper engagement (Trans. - JKA68259), Includes Ref: 18, 19

1шт.

18

NSS

NOT SOLD SEPARAT

YOKE - creeper engagement

1шт.

19

NSS

NOT SOLD SEPARAT

FINGER - shift fork

2шт.

Выбрано товаров: 26