Запчасти Case IH 5230 (9-038) - PROTECTIVE SHIELDS FOR HYDRAULIC PUMP (09) - CHASSIS/ATTACHMENTS

Схема запчастей Case IH 5230 - (9-038) - PROTECTIVE SHIELDS FOR HYDRAULIC PUMP (09) - CHASSIS/ATTACHMENTS
11
2
8
4
5
6
7
1
10
9
3
FIT
1:1
100%

Артикул

Название

Примечание

Количество

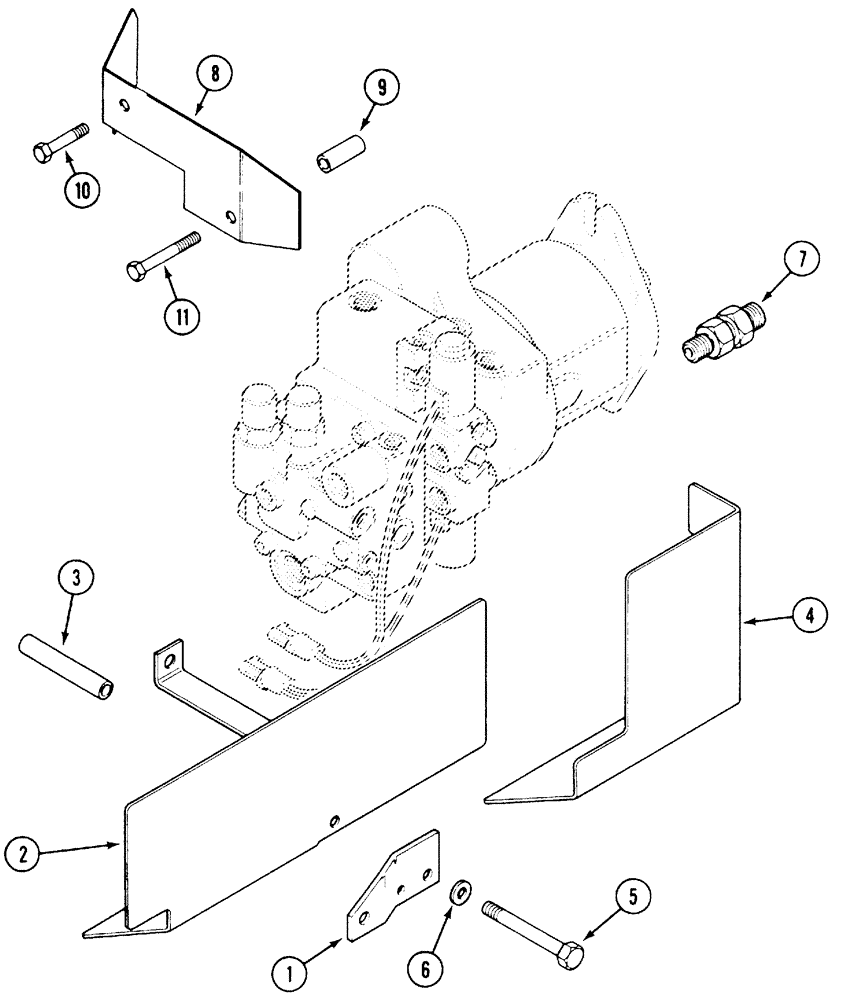
1

REF

INSTRUCTION

BRACKET - lube pipe, See Figure: 8-26

1шт.

2

1979022C2

SHIELD

- assembly, neutral start switch

1шт.

3

1533050C1

SPACER

- protection shield

1шт.

4

1533610C1

SHIELD

- hitch valve

1шт.

5

814-8090

BOLT,Hex, M8 x 1.25 x 90mm, Cl 8.8

- hex, 8 - 1.25 x 90 mm

1шт.

6

895-11008

WASHER,9mm ID x 16mm OD x 1.6mm Thk

- flat, 9 x 16 x 1.6 mm

1шт.

7

1533046C2

FITTING

ADAPTER - 9/16 to 11/16 inch

2шт.

8

1957256C1

LARGE PLATE

SHIELD - PTO switch, obsolete use 1530662C1 as shown on 6-080

1шт.

9

D30863

TUBE

SPACER - long, 17/32 inch

1шт.

10

628-8016

BOLT,Hex, M8 x 1.25 x 16mm, Cl 10.9, Full Thd

- hex, full threads, 8 - 1.25 x 16 mm

1шт.

11

614-8025

BOLT,Hex, M8 x 1.25 x 25mm, Cl 8.8, Full Thd

- hex, full threads, 8 - 1.25 x 25 mm

1шт.

Выбрано товаров: 11