Запчасти Case IH 5230 (9-112) - EXTENDABLE MIRRORS (09) - CHASSIS/ATTACHMENTS

Схема запчастей Case IH 5230 - (9-112) - EXTENDABLE MIRRORS (09) - CHASSIS/ATTACHMENTS
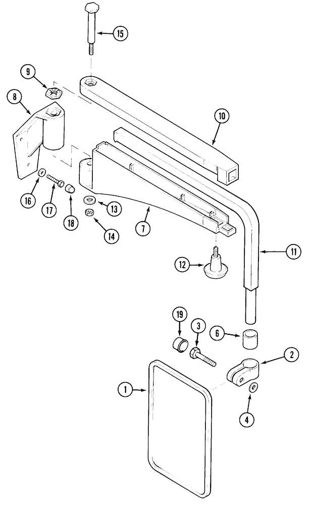
12
10
3
9
6
16
19
2
4
7
13
18
1
8
11
15
17
14
FIT
1:1
100%

Артикул

Название

Примечание

Количество

185773A1

MIRROR

- assembly, plastic housing, Includes Ref: 1-6

2шт.

1

185774A1

MIRROR

-

1шт.

2

132219A1

CLAMP

- assembly

1шт.

3

614-8050

BOLT,Hex, M8 x 1.25 x 50mm, Cl 8.8, Full Thd

- hex, full threads, 8 - 1.25 x 50 mm

1шт.

4

895-11008

WASHER,9mm ID x 16mm OD x 1.6mm Thk

- flat, 9 x 16 x 1.6 mm

1шт.

6

132220A1

BUSHING

- 8 mm

1шт.

1530998C2

SUPPORT

HOLDER - assembly, Includes Ref: 7-15

2шт.

7

NSS

NOT SOLD SEPARAT

SUPPORT - assembly

1шт.

8

136294A1

SUPPORT

BRACKET - mounting

1шт.

9

NSS

NOT SOLD SEPARAT

DETENT - mirror arm

1шт.

10

258477A1

ARM

- mirror

1шт.

11

136299A1

TUBE

- arm

1шт.

12

136300A1

HANDLE GRIP

KNOB - adjusting

1шт.

13

NSS

NOT SOLD SEPARAT

WASHER - (Order 1530998C1)

1шт.

14

NSS

NOT SOLD SEPARAT

NUT - 8 mm, (Order 1530998C1)

1шт.

15

NSS

NOT SOLD SEPARAT

BOLT - 14 x 120 mm, (Order 1530998C1)

1шт.

16

895-11008

WASHER,9mm ID x 16mm OD x 1.6mm Thk

- flat, 9 x 16 x 1.6 mm

6шт.

17

614-8025

BOLT,Hex, M8 x 1.25 x 25mm, Cl 8.8, Full Thd

- hex, full threads, 8 - 1.25 x 25 mm

6шт.

18

182433A1

CAP

- 8 mm

6шт.

19

185775A1

CAP

- bolt head, use with 185774A1

1шт.

Выбрано товаров: 20