Запчасти Case IH 5230 (5-022[1]) - STEERING TIE ROD, 68 - 96 INCH AXLE EXTENSION (05) - STEERING

Схема запчастей Case IH 5230 - (5-022[1]) - STEERING TIE ROD, 68 - 96 INCH AXLE EXTENSION (05) - STEERING
4
1
4
5
5
6
2
3
8
7
FIT
1:1
100%

Артикул

Название

Примечание

Количество

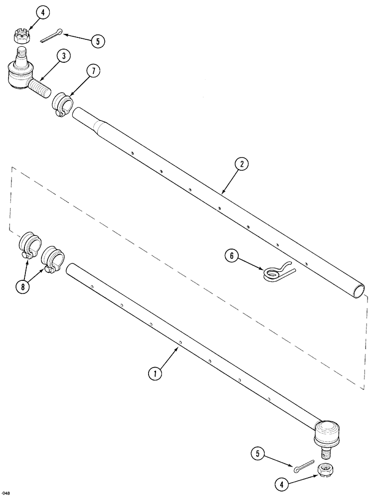
1533224C1

TIE-ROD

TIE ROD, 68 - 96 inch axle extension

1шт.

Order Components

1шт.

1

1534225C1

BALL JOINT

BALL - joint, 68 - 96 inch axle extension (Hollow Rod)

1шт.

2

1534224C1

TUBE

- tie rod, 68 - 96 inch axle extension

1шт.

3

1531204C1

BALL JOINT

BALL - joint

1шт.

4

934683R1

NUT,M18 x 1.5

NUT - castellated, 18 mm

2шт.

5

732-4036

COTTER PIN,M4 x 36

PIN - cotter, 4 x 36 mm

2шт.

6

1534226C1

CLIP, SPRING

CLIP - spring

1шт.

7

1534227C1

CLAMP

- complete

1шт.

8

1534228C1

CLAMP

- complete

2шт.

Выбрано товаров: 0