Запчасти Case IH MAXXUM 100 (1.40. 1/02) - 4WD (CL.3) FRONT AXLE DOG CLUTCH - STEERING AXLES AND HUBS (STANDARD) (04) - FRONT AXLE & STEERING

Схема запчастей Case IH MAXXUM 100 - (1.40. 1/02) - 4WD (CL.3) FRONT AXLE DOG CLUTCH - STEERING AXLES AND HUBS (STANDARD) (04) - FRONT AXLE & STEERING
13
15
16
5
11
12
18
1
17
1.40.0/01
2
3
7
9
6
8
3
4
14
10
FIT
1:1
100%

Артикул

Название

Примечание

Количество

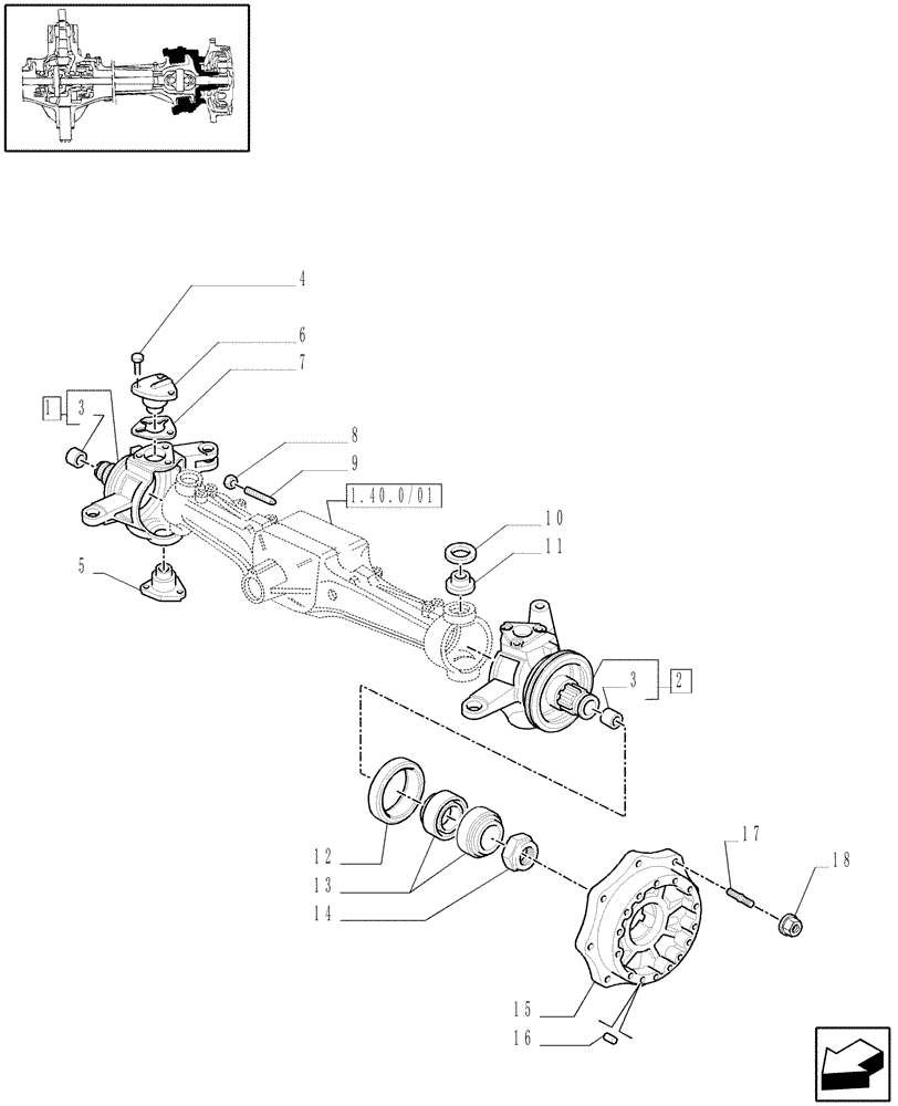
1

87529754

KNUCKLE

ASSY. RH, Serial Range: -C6449

1шт.

1

84196952

KNUCKLE,RH

ASSY. RH, Start Serial: D6449

1шт.

2

87529756

KNUCKLE,LH

ASSY. LH, Serial Range: -C6449

1шт.

2

84196849

KNUCKLE,LH

ASSY. LH, Start Serial: D6449

1шт.

3

87525550

BUSHING,42.1mm ID x 46.13mm OD x 28mm L

42 x 46 x 28

2шт.

3

5104085

BUSHING,45mm ID x 50mm OD x 30mm L

45 x 50 x 30

2шт.

4

14274534

LOCK BOLT,Hex, M12 x 1.25 x 30mm, Cl 10.9, Full Thd

12шт.

5

87333763

BALL STUD

BALL PIN

2шт.

6

87361688

BALL STUD

BALL PIN

2шт.

7

5137456

SHIM,56.5mm ID x 97mm OD x 0.1mm Thk

1шт.

7

5137457

SHIM,56.5mm ID x 97mm OD x 0.15mm Thk

1шт.

7

5137458

SHIM,56.5mm ID x 97mm OD x 0.2mm Thk

0.20MM

1шт.

8

10717611

NUT,Thin, M18 x 2.5, Cl 04

2шт.

9

87325679

SET SCREW,M18 x 98mm, Cl 8.8, Half Dog Pt

2шт.

10

5121471

SEAL,56mm ID x 70mm OD x 7.5mm Thk

4шт.

11

5119699

SPHERICAL BEARING,30.16mm ID x 64.29mm OD x 21.43mm W

4шт.

12

5184116

SEAL

165 x 190 x 15.5-17

2шт.

13

47539809

TAPERED BEARING,95mm ID x 135mm OD x 20mm L

4шт.

14

5142020

NUT,Hex, M75 x 2

M75 x 20

2шт.

15

87529959

HUB

Incl. 16, 17

2шт.

16

4985063

DOWEL,12mm OD x 20mm L

4шт.

17

87537833

STUD

16шт.

18

87678013

NUT,M16 x 1.5

16шт.

Выбрано товаров: 23