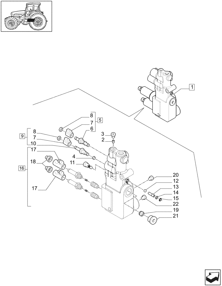
Запчасти Case IH MAXXUM 100 (1.82.1/10[01]) - SUSPENSION CONTROL VALVE, COMPONENTS - BREAKDOWN (VAR. 330414 - 330427 - 330429 - 330430) (07) - HYDRAULIC SYSTEM

Схема запчастей Case IH MAXXUM 100 - (1.82.1/10[01]) - SUSPENSION CONTROL VALVE, COMPONENTS - BREAKDOWN (VAR. 330414 - 330427 - 330429 - 330430) (07) - HYDRAULIC SYSTEM
12
3
13
4
19
9
6
1
11
17
5
8
2
7
20
18
17
14
7
10
8
16
22
21
15
FIT
1:1
100%

Артикул

Название

Примечание

Количество

1

87636984

VALVE SECTION

ASSY

1шт.

2

87728643

RESTRICTOR

1шт.

3

87728642

PLUG

1шт.

4

87728641

RESTRICTOR

1шт.

5

87739309

SOLENOID

ASSY

1шт.

6

82025708

BODY

1шт.

7

87728638

COIL

1шт.

8

87728637

SPECIAL NUT

1шт.

9

87728646

SERVICE KIT

ASSY

2шт.

10

87728640

SOLENOID

1шт.

11

87728636

VALVE PRESSURE RELIE

1шт.

12

87728635

BALL

1шт.

13

87728634

ADJUSTMENT SCREW

1шт.

14

87728633

WASHER

1шт.

15

87728632

SNAP RING

1шт.

16

87728645

SOLENOID

2шт.

17

87728631

COIL

2шт.

18

87728627

SPECIAL NUT

2шт.

19

87728630

PLUG

1шт.

20

87728629

PLUG

1шт.

21

47126450

CHECK VALVE

1шт.

22

47126449

CHECK VALVE

1шт.

23

87728644

SEAL KIT

Art not available

1шт.

Выбрано товаров: 23