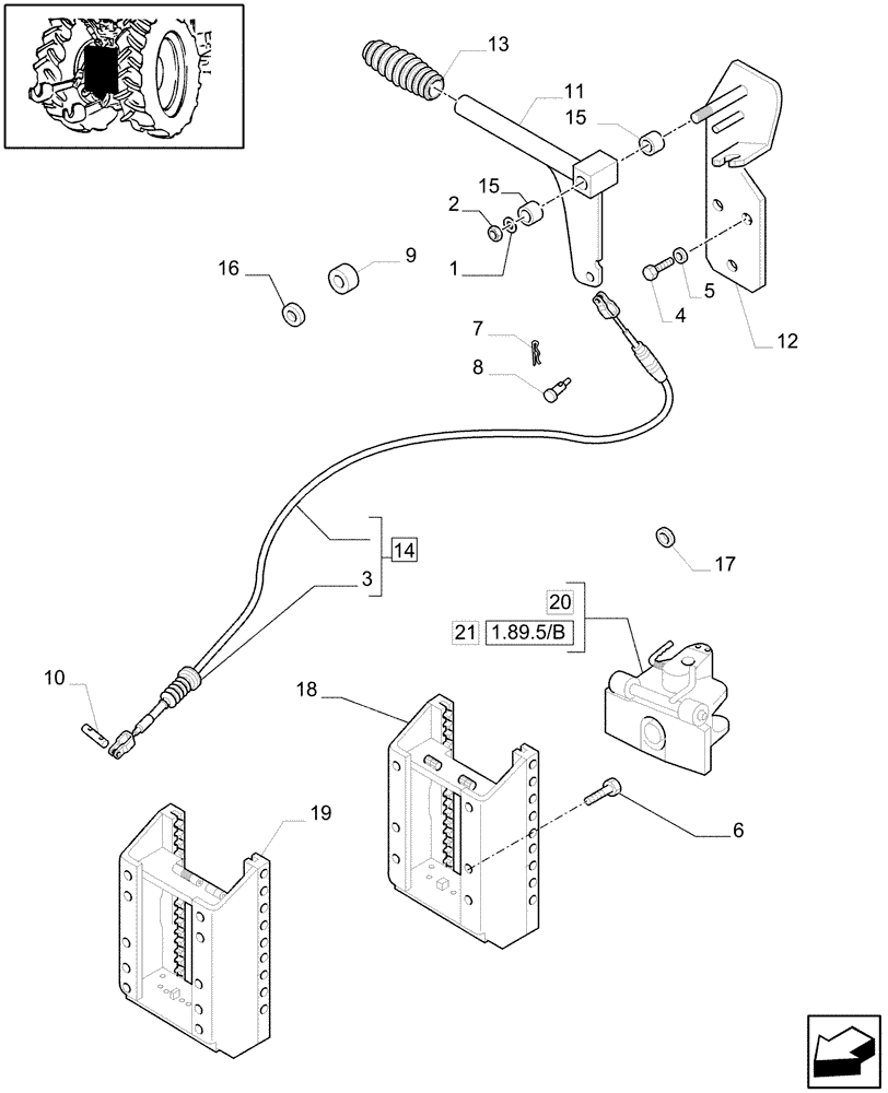
Запчасти Case IH MAXXUM 100 (1.89.5[01]) - SLIDER TOW HOOK WITH AUTO SWIVEL COUPLING GERMAN TYPE - C6978 (VAR.330938-330939) (09) - IMPLEMENT LIFT

Схема запчастей Case IH MAXXUM 100 - (1.89.5[01]) - SLIDER TOW HOOK WITH AUTO SWIVEL COUPLING GERMAN TYPE - C6978 (VAR.330938-330939) (09) - IMPLEMENT LIFT
8
10
20
1
5
1.89.5/b
18
12
16
11
7
2
3
4
17
14
15
6
9
19
15
13
21
FIT
1:1
100%

Артикул

Название

Примечание

Количество

1

12626201

WASHER,10.2mm ID x 25mm OD x 3mm Thk

WASHER

1шт.

2

12577211

LOCK NUT,M10 x 1.5mm Pitch, 12.30mm High, Cl 8, ZND

LOCK NUT

1шт.

3

82006917

GROMMET,7.8mm ID x 34mm OD, Rubber, Black

BOOT

1шт.

4

16043424

SCREW,Hex, M8 x 1.25 x 20mm, Cl 8.8, Full Thd

SCREW

3шт.

5

14496504

WASHER,8.4mm ID x 17mm OD x 1.6mm Thk

WASHER

3шт.

6

16220874

BOLT,Hex, M18 x 1.5 x 45mm, Cl 12.9

BOLT

10шт.

7

82033370

COTTER PIN,10mm OD

PIN

1шт.

8

81868749

PIN,7.9mm OD x 15.08mm L

PIN

2шт.

9

87330882

CAP,End, 23.80mm ID x 25mm L

CAP

1шт.

9

87330878

CAP,9.50mm ID x 13.30

CAP

1шт.

10

83957394

PIN,0.072" x 0.82"

COTTER PIN

1шт.

11

87665892

LEVER

HANDLE GRIP

1шт.

12

87306928

SUPPORT

SUPPORT

1шт.

12

87531029

SUPPORT

SUPPORT

1шт.

13

87666034

HANDLE GRIP

LEVER

1шт.

14

87307663

CABLE,2100mm L

CABLE

1шт.

15

83904673

BUSHING,12.73mm ID x 14mm OD x 12.2mm L

BUSHING

2шт.

16

81822628

CIRCLIP,1/2"

CIRCLIP

1шт.

17

10571371

LOCK WASHER,M4

TOW HOOK COUPLING

1шт.

18

82039551

SUPPORT

COUPLING, ASSY

1шт.

18

87640773

FRAME

COUPLING, ASSY

1шт.

19

87734317

FRAME

FRAME, ASSY

1шт.

20

84343553

TOW HOOK

1шт.

21

82029387

TOW HOOK

1шт.

Выбрано товаров: 24