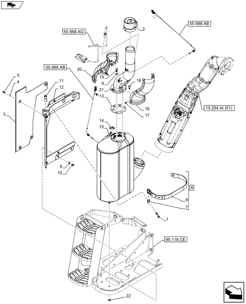
Запчасти Case IH MAXXUM 110 (10.254.AI[02]) - VAR - 390158 - EXHAUST MUFFLER (10) - ENGINE

Схема запчастей Case IH MAXXUM 110 - (10.254.AI[02]) - VAR - 390158 - EXHAUST MUFFLER (10) - ENGINE
2
14
7
55.988.ag
15
10.254.ai (01)
22
17
55.988.ab
55.988.ab
20
11
13
21
10
4
3
16
18
6
90.118.ce
9
12
home
19
9
1
8
5
FIT
1:1
100%

Артикул

Название

Примечание

Количество

1

14420921

HEX SOC SCREW,M10 x 65mm, Cl 8.8

1шт.

2

84496589

HEAT SHIELD

1шт.

3

84554085

SUPPORT

1шт.

4

10519401

WASHER,6.4mm ID x 11.95mm OD x 1.6mm Thk

4шт.

5

86531615

HEX SOC SCREW,M6 x 20mm, Cl 8.8

4шт.

6

84486589

SECURING STRAP,405mm L x 40mm W

ASSY, Incl 7, 8

1шт.

7

84531534

PIN,17mm OD

1шт.

8

NSS

NOT SOLD SEPARAT

Band, Incl in 6

1шт.

9

140045

BELLEVILLE WASHER,M10 Bolt Size x 22mm OD x 1.6mm Thk

9шт.

10

11106080

BOLT,Hex, M10 x 20mm

4шт.

11

84486209

PIN,21mm OD x 60mm L

1шт.

12

84551244

SUPPORT

1шт.

13

84482398

SEAL,90mm ID x 143mm OD x 1.5mm Thk

1шт.

14

86566989

CABLE TIE,208mm L

1шт.

15

84470779

MUFFLER

1шт.

16

84550840

HEAT SHIELD

1шт.

17

86050272

BOLT,M6 x 1 x 18.6mm OAL, Cl 8.8, Full Thd

5шт.

18

84485378

HEADED PIN,13mm OD x 28mm L

1шт.

19

14420231

HEX SOC SCREW,M10 x 1.5 x 30mm, Cl 10.9, Full Thd

5шт.

20

84550841

HEAT SHIELD

1шт.

21

84601105

PIPE

1шт.

22

84421931

FLANGE NUT,Hex, 12mm D

4шт.

Выбрано товаров: 22