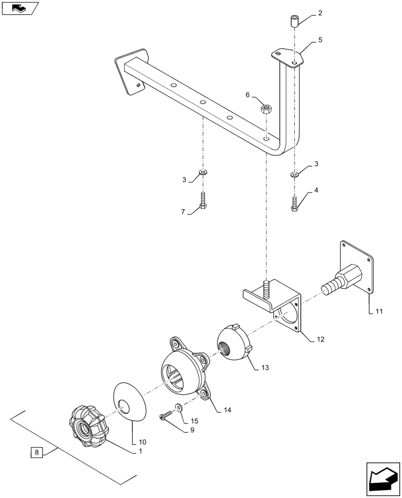
Запчасти Case IH MAXXUM 115 (55.785.AF[03]) - VAR - 330666, 330687 - BRACKET FOR MOUNTING EQUIPMENT MONITORS (55) - ELECTRICAL SYSTEMS

Схема запчастей Case IH MAXXUM 115 - (55.785.AF[03]) - VAR - 330666, 330687 - BRACKET FOR MOUNTING EQUIPMENT MONITORS (55) - ELECTRICAL SYSTEMS
home
11
15
10
5
3
3
9
14
4
2
8
12
1
7
6
13
FIT
1:1
100%

Артикул

Название

Примечание

Количество

1

87316701

KNOB

1шт.

2

87681589

SPACER,8mm ID x 11mm OD x 16mm L

2шт.

3

14496501

WASHER,8.4mm ID x 17mm OD x 1.6mm Thk

10шт.

4

16044021

SCREW,Hex, M8 x 1.25 x 40mm, Cl 8.8

2шт.

5

84340967

SUPPORT

1шт.

6

12577211

LOCK NUT,M10 x 1.5mm Pitch, 12.30mm High, Cl 8, ZND

1шт.

7

15213321

BOLT,Hex, M8 x 1.25 x 35mm, Cl 8.8

4шт.

8

87614599

SUPPORT

Incl 1, 9 - 15

1шт.

9

86585711

SCREW,Phillips Drive, Pan HD, M6 x 10mm, Cl 4.8

4шт.

10

87316706

CUP,23mm ID x 68.6mm OD, Black

1шт.

11

87565605

SUPPORT

1шт.

12

87614600

BRACKET

1шт.

13

87614603

CUP,Black

1шт.

14

87614602

BASE

1шт.

15

14496401

WASHER,M6.4 x 12.00mm x 1.60mm

4шт.

Выбрано товаров: 15