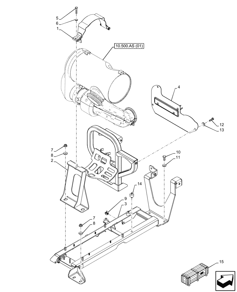
Запчасти Case IH MAXXUM 115 (10.500.AS[04]) - VAR - 743812 - MUFFLER, CATALYST, SUPPORT (10) - ENGINE

Схема запчастей Case IH MAXXUM 115 - (10.500.AS[04]) - VAR - 743812 - MUFFLER, CATALYST, SUPPORT (10) - ENGINE
10.500.as (01)
6
12
7
7
8
9
5
14
15
11
2
3
13
1
4
10
8
FIT
1:1
100%

Артикул

Название

Примечание

Количество

1

47582322

RETAINER COLLAR

1шт.

2

47830565

BRACKET

1шт.

3

47830579

SUPPORT

1шт.

4

47730446

HEAT SHIELD

1шт.

5

15213521

BOLT,Hex, M8 x 45mm, Cl 8.8, Full Thd

1шт.

6

10519601

WASHER,8.15mm ID x 17mm OD x 2mm Thk

1шт.

7

47455668

NUT,Hex, M10

8шт.

8

12626201

WASHER,10.2mm ID x 25mm OD x 3mm Thk

8шт.

9

82033028

CABLE TIE,170mm L

3шт.

10

11106221

SCREW,Hex, M10 x 25mm, Cl 8.8, Full Thd

4шт.

11

86625253

WASHER,11mm ID x 24mm OD x 2mm Thk

4шт.

12

16043821

SCREW,Hex, M8 x 1.25 x 30mm, Cl 8.8, Full Thd

3шт.

13

86639313

WASHER,9mm ID x 24mm OD x 2mm Thk

3шт.

14

47633741

DAMPER

3шт.

15

718228014

DIA KIT, TRACTOR

Autoguidance System Sps Cl 3 Axle, Incl 3, 14

1шт.

To See Full DIA KIT Composition Look for all the Figures Where the DIA KIT P/N Is Shown

1шт.

15

718230014

DIA KIT, TRACTOR

Autoguidance System Sps Cl 3.5 Axle, Incl 3, 14

1шт.

To See Full DIA KIT Composition Look for all the Figures Where the DIA KIT P/N Is Shown

1шт.

Выбрано товаров: 18