Запчасти Case IH MAXXUM 115 (37.100.AK[06]) - VAR - 758461 - SLIDER, FRAME, COMPONENTS (FRANCE) (37) - HITCHES, DRAWBARS & IMPLEMENT COUPLINGS

Схема запчастей Case IH MAXXUM 115 - (37.100.AK[06]) - VAR - 758461 - SLIDER, FRAME, COMPONENTS (FRANCE) (37) - HITCHES, DRAWBARS & IMPLEMENT COUPLINGS
6
5
4
3
7
1
2
FIT
1:1
100%

Артикул

Название

Примечание

Количество

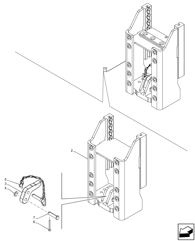
1

84351244

FRAME

ASSY, Incl 2 - 7

1шт.

2

NSS

NOT SOLD SEPARAT

Frame, Incl in 1

1шт.

3

84385418

LATCH HOOK

1шт.

4

86511327

WASHER,21mm ID x 37mm OD x 3mm Thk

1шт.

5

86516226

PIN,20mm OD x 100mm L

1шт.

6

281072

COTTER PIN,5/16" Dia x 3"

1шт.

7

86516223

PIN,30mm OD x 89mm L

1шт.

Выбрано товаров: 7