Запчасти Case IH MAXXUM 115 (50.100.AP[06]) - VAR - 390643, 758482 - AIR CONDITIONER, COMPONENTS (50) - CAB CLIMATE CONTROL

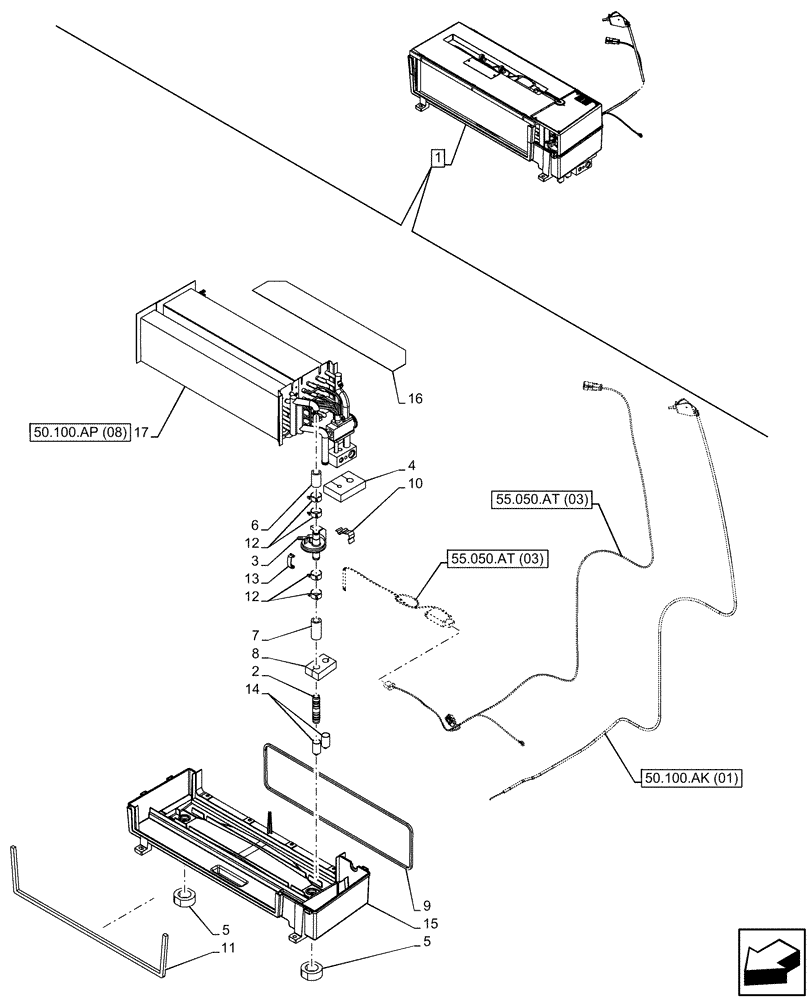
Схема запчастей Case IH MAXXUM 115 - (50.100.AP[06]) - VAR - 390643, 758482 - AIR CONDITIONER, COMPONENTS (50) - CAB CLIMATE CONTROL
55.050.at (03)
7
16
17
3
1
9
5
6
15
12
14
8
11
4
2
13
10
12
5
50.100.ap (08)
50.100.ak (01)
55.050.at (03)
FIT
1:1
100%

Артикул

Название

Примечание

Количество

1

84210146

AIR CONDITIONER

ASSY, Mechanical, Incl 2 - 17

1шт.

See also Figure 50.100.AK (01), 50.100.AP (07), 55.050.AT (03)

1шт.

2

82033471

HYD CONNECTOR,12mm D x 13.5mm D x 76mm L

1шт.

3

84210138

VALVE,Water Control

1шт.

4

82028953

SEAL

1шт.

5

82028942

SEAL,32mm ID x 48mm OD x20mm Thk

2шт.

6

82028941

FLEXIBLE HOSE

1шт.

7

82028940

FLEXIBLE HOSE

1шт.

8

82028943

SEAL,20mm Thk

1шт.

9

82024750

SEAL,1235mm L x 5mm Thk

1шт.

10

82024396

CLIP,9.5mm W

1шт.

11

82023564

SEAL,765.6mm L x 8mm Thk

1шт.

12

82019905

HOSE CLAMP,22 - 26mm X 12mm

4шт.

13

82024392

CLIP,7mm W

4шт.

14

82033261

CAP,5/8"

2шт.

15

82033005

HOUSING

1шт.

16

82033453

PLATE

1шт.

17

82033007

EVAPORATOR

ASSY

1шт.

Выбрано товаров: 18