Запчасти Case IH MAXXUM 115 (1.74.2[01A]) - BATTERY, COVERS AND RELATED SUPPORTS - D6725 (06) - ELECTRICAL SYSTEMS

Схема запчастей Case IH MAXXUM 115 - (1.74.2[01A]) - BATTERY, COVERS AND RELATED SUPPORTS - D6725 (06) - ELECTRICAL SYSTEMS
10
5
11
12
home
9
7
4
10
9
8
2
14
1
6
3
13
15
FIT
1:1
100%

Артикул

Название

Примечание

Количество

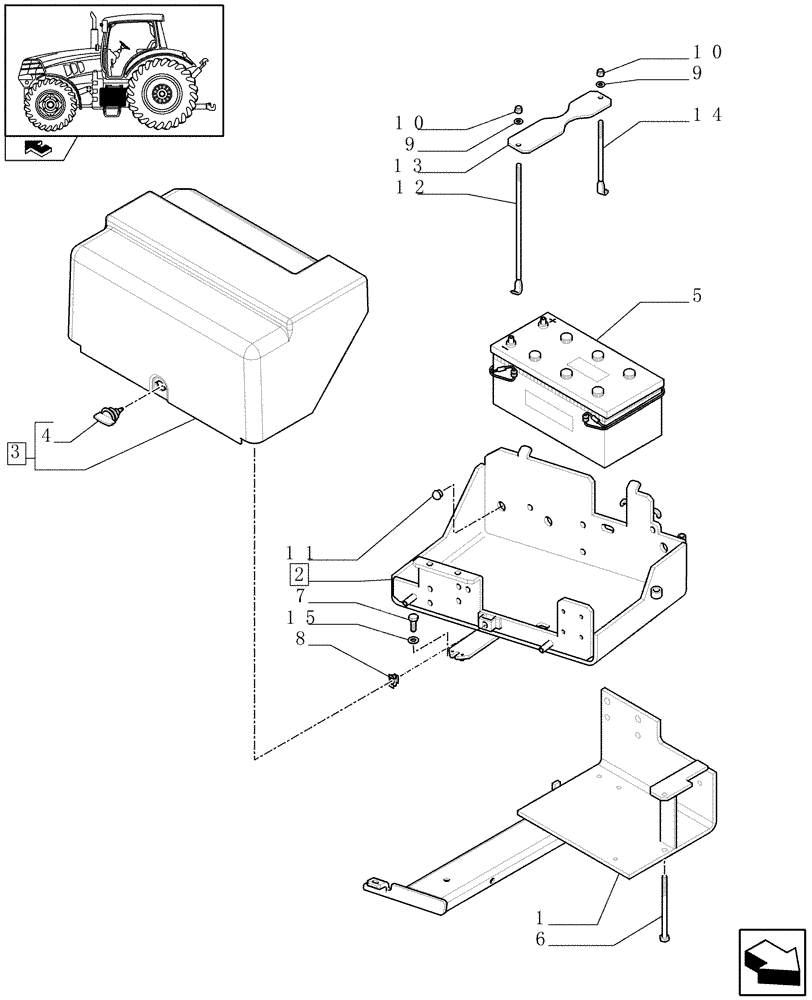
1

87393208

SUPPORT

1шт.

2

84270715

BATTERY TRAY

ASSY, Incl. 8, 11

1шт.

3

82032836

BATTERY BOX

1шт.

4

81866169

LATCH

1шт.

5

BMF31GW

WET BATTERY

US, 12V-107AH-800A

1шт.

5

CCMF31GW

WET BATTERY

Canada, 12V-107AH-800A

1шт.

5

B45630W

WET BATTERY

US, 12V-132AH-960CCA

1шт.

5

CC45630W

WET BATTERY

Canada, 12V-132AH-960CCA

1шт.

Heavy Duty Battery, VAR.330741

1шт.

6

11133521

BOLT,Hex, M10 x 150, 8.8

1шт.

7

11106421

SCREW,Hex, M10 x 1.5 x 30mm, Cl 8.8

1шт.

8

83991620

RETAINER

1шт.

9

14496504

WASHER,8.4mm ID x 17mm OD x 1.6mm Thk

2шт.

10

87597953

NUT,M8, 1.25 Pitch, 10.6mm High, Cl 8, ZND

2шт.

11

86528579

NUT,M8 x 1.25

3шт.

12

82020168

ROD

235MM

1шт.

13

82020166

BRACKET

1шт.

14

82020470

ROD

100MM

1шт.

15

14496601

WASHER,10.5mm ID x 21mm OD x 2mm Thk

1шт.

Выбрано товаров: 19