Качественные детали и логистика
Оригинальные и аналоговые запчасти с доставкой по России, Казахстану и Беларуси
©2022 PartSell ООО "Система" ИНН 2463123282 ОГРН 1212400004838
Центральный офис: г. Красноярск, Академика Киренского, д.87, пом.4
Телефон: 8 (800) 777-65-74 Email: zakaz@partsell.ru
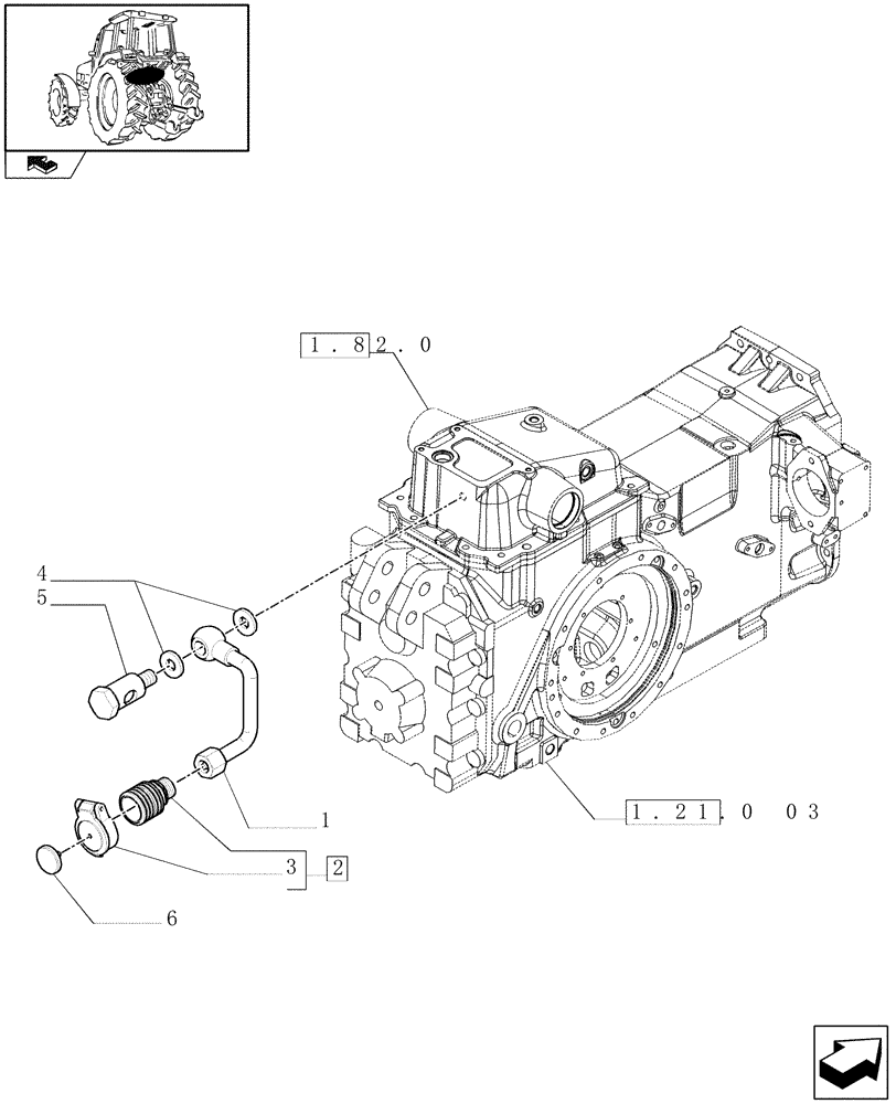
(1.82.7/04) - LOW PRESSURE HYDRAULIC RETURN PORT FOR EDC (VAR.331839)
№
Артикул
Название
Примечание
Количество
1
87304023
HYD TUBE
1шт.
2
87301571
QUICK MALE COUPLING,M22 x 1.5
3
47056253
CAP,59.5mm L x 46mm D x 19.4mm Thk, Black
4
10296260
SEAL,28.4mm ID x 36mm OD x 1.5mm Thk
2шт.
5
87305112
BANJO BOLT,G-3/4" x 50mm
6
82029895
DISC,20mm D, Black
Выбрано товаров: 0