Запчасти Case IH MAXXUM 115 (1.14.0/01[01B]) - JAPAN VERSION - FUEL TANK WITH GUARD - D7389 (VAR.330133) (02) - ENGINE EQUIPMENT

Схема запчастей Case IH MAXXUM 115 - (1.14.0/01[01B]) - JAPAN VERSION - FUEL TANK WITH GUARD - D7389 (VAR.330133) (02) - ENGINE EQUIPMENT
1.75.0
18
5
12
5
4
10
2
23
21
15
19
7
20
20
1
9
3
17
14
21
13
12
11
8
16
22
6
FIT
1:1
100%

Артикул

Название

Примечание

Количество

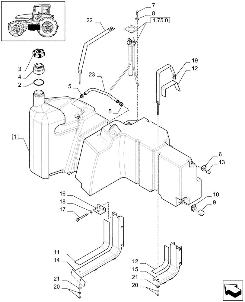
1

47478571

FUEL TANK

ASSY, with Shield, Incl 2 - 22

1шт.

See also Figure 1.14.7/02 and 1.75.0 (03)

1шт.

2

84284801

O-RING,3.53mm Thk x 75mm ID

1шт.

3

84547727

FILLER CAP,M59, Vented

1шт.

4

84236742

NECK FILLER

1шт.

5

82035326

ADAPTER

2шт.

6

82012719

CLAMP,15mm - 24mm, Worm Gear

1шт.

7

86508568

BOLT,Hex, M6 x 1 x 16mm, Cl 8.8

4шт.

8

10615479

LOCK WASHER,6.4mm ID x 11mm OD x 0.7mm Thk

4шт.

9

83998666

CAP

1шт.

10

82012726

HOSE CLAMP,38mm - 50mm, Worm Gear

1шт.

11

82012920

RUBBER PAD,635mm L

1шт.

12

82013475

RUBBER PAD

2шт.

13

83952371

CAP,15mm ID X 25mm

1шт.

14

87480782

SUPPORT

1шт.

15

82033333

SUPPORT

1шт.

16

82027923

SUPPORT

1шт.

17

120104

BOLT,Hex, M8 x 1.25 x 20mm, Cl 8.8

2шт.

18

12646701

WASHER,8.15mm ID x 20mm OD x 2mm Thk

2шт.

19

82013785

BRACKET

606MM

1шт.

20

100016

NUT,M10 x 1.5, Cl 8

4шт.

21

14496601

WASHER,10.5mm ID x 21mm OD x 2mm Thk

2шт.

22

82020723

SECURING STRAP

696MM, 115 Thread

1шт.

23

87302145

TUBE,335 mm L

1шт.

Выбрано товаров: 0