Запчасти Case IH MAXXUM 140 (35.106.AQ[01]) - VAR - 331145, 331146 + STD - HYDRAULIC PUMP 113 L/MIN CCLS - FILTER - C7420 (35) - HYDRAULIC SYSTEMS

Схема запчастей Case IH MAXXUM 140 - (35.106.AQ[01]) - VAR - 331145, 331146 + STD - HYDRAULIC PUMP 113 L/MIN CCLS - FILTER - C7420 (35) - HYDRAULIC SYSTEMS
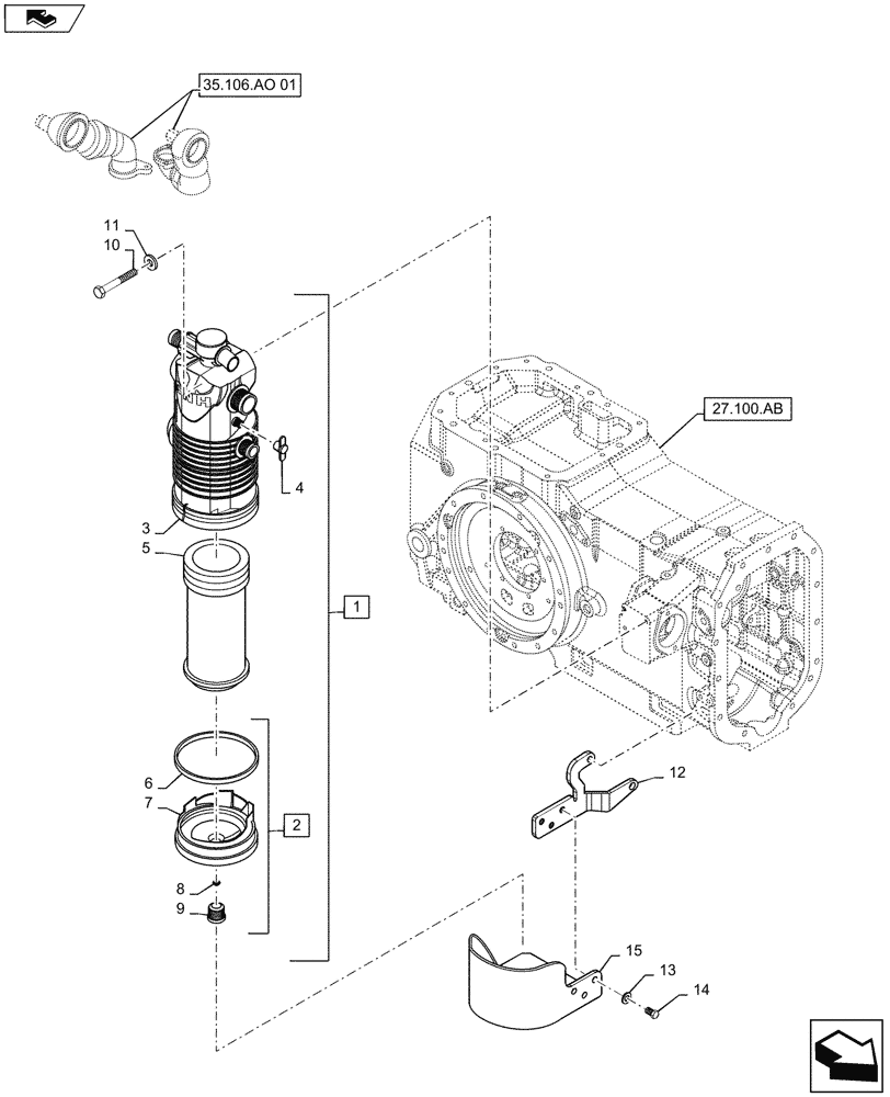
35.106.ao 01
1
2
6
13
4
3
14
5
7
9
12
11
15
8
10
27.100.ab
home
FIT
1:1
100%

Артикул

Название

Примечание

Количество

1

87313049

FILTER ASSY

Incl 2 - 5

1шт.

2

87705159

FILTER COVER

Incl 6 - 9

1шт.

3

NSS

NOT SOLD SEPARAT

Filter, Incl in 1

1шт.

4

87705160

ARRESTER

1шт.

5

87708150

HYDRAULIC OIL FILTER,Filter & Seal

1шт.

6

NSS

NOT SOLD SEPARAT

Gasket, Incl in 2

1шт.

7

NSS

NOT SOLD SEPARAT

Base, Incl in 2

1шт.

8

NSS

NOT SOLD SEPARAT

O-Ring, Incl in 2

1шт.

9

NSS

NOT SOLD SEPARAT

Plug, Incl in 2

1шт.

10

15972421

SCREW,Hex, M10 x 1.25 x 130mm, Cl 8.8

2шт.

11

14496621

WASHER,10.5mm ID x 21mm OD x 2mm Thk

4шт.

12

84489570

BRACKET

1шт.

13

14496724

WASHER,13mm ID x 24mm OD x 2.5mm Thk

3шт.

14

15232521

BOLT,Hex, M12 x 1.25 x 22mm, Cl 8.8, Full Thd

3шт.

15

84489647

COVER

1шт.

Выбрано товаров: 0