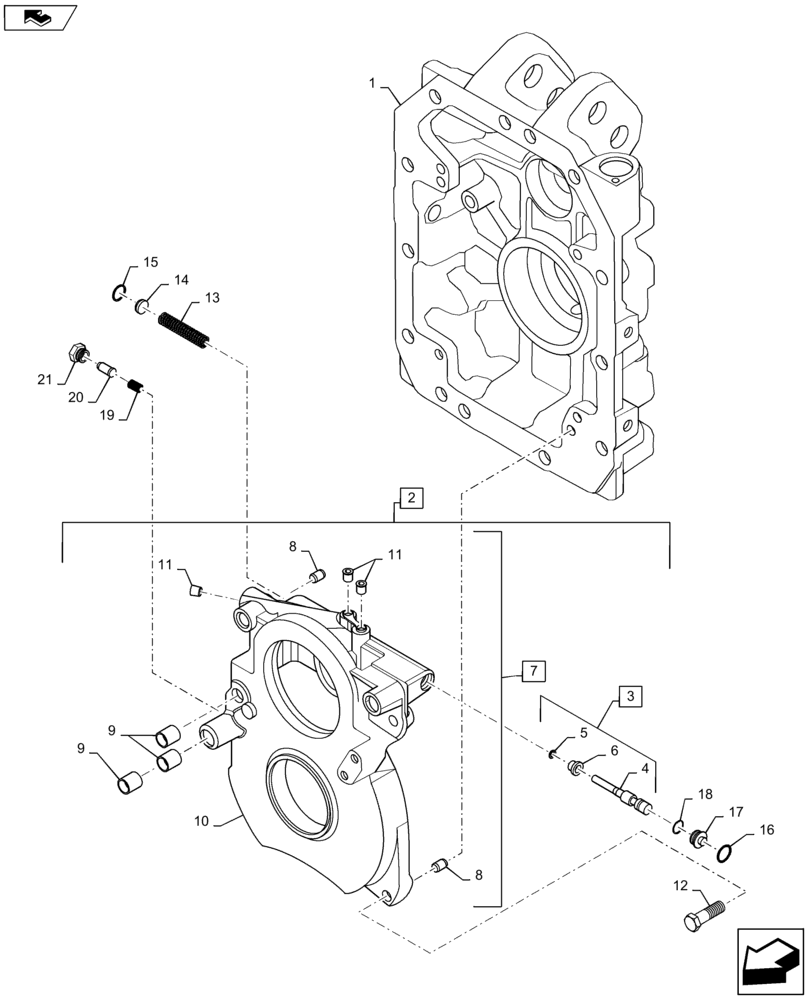
Запчасти Case IH MAXXUM 140 (31.116.AG[01]) - VAR - 330801, 332805 + STD - 3 SPEED REAR PTO - PTO CASE AND INTERNAL COVER (31) - IMPLEMENT POWER TAKE OFF

Схема запчастей Case IH MAXXUM 140 - (31.116.AG[01]) - VAR - 330801, 332805 + STD - 3 SPEED REAR PTO - PTO CASE AND INTERNAL COVER (31) - IMPLEMENT POWER TAKE OFF
home
9
18
11
4
2
12
7
5
3
20
8
21
1
11
16
15
19
13
17
6
9
10
8
14
FIT
1:1
100%

Артикул

Название

Примечание

Количество

1

47131252

HOUSING

1шт.

2

87673377

COVER

Incl 3 - 11

1шт.

3

47128616

VALVE

Incl 4, 5

1шт.

4

NSS

NOT SOLD SEPARAT

Valve, Incl in 3

1шт.

5

47128538

SPACER

1шт.

6

13397370

SNAP RING,M8, Int

1шт.

7

87578142

SUPPORT

Incl 8 - 11

1шт.

8

10839710

DOWEL,M10 x 15.00mm

2шт.

9

5129030

BUSHING,16.04mm ID x 18mm OD x 20mm L

3шт.

10

NSS

NOT SOLD SEPARAT

Support, Incl in 7

1шт.

11

14326001

PLUG,Hex Skt, M10 x 1.25 x 11mm, Cl 4.8

3шт.

12

15540624

BOLT,Hex, M12 x 1.25 x 40mm, Cl 8.8, Full Thd

4шт.

13

47123788

SPRING,15mm OD x 87.5mm L

1шт.

14

47127951

CAP COVER

1шт.

15

13420576

SNAP RING,M16, Int

1шт.

16

11057776

SNAP RING,M19, Int

1шт.

17

47128597

PLUG,6mm ID x 19mm OD x 13mm L

1шт.

18

14453182

O-RING,0.07" Thk x 0.489" ID, -14, Cl 9, 70 Duro

1шт.

19

5128251

SPRING,Compression, 8.5mm OD x 20mm L

1шт.

20

5193099

PAWL,8.5mm D x 22.5mm L

1шт.

21

5193100

PLUG,Hex, M14 x 1.5

1шт.

Выбрано товаров: 21