Запчасти Case IH MAXXUM 140 (37.100.AF[02]) - VAR - 330940 - SLIDER TOW HOOK WITH SWIVEL COUPLING AND PITON - FRANCE (37) - HITCHES, DRAWBARS & IMPLEMENT COUPLINGS

Схема запчастей Case IH MAXXUM 140 - (37.100.AF[02]) - VAR - 330940 - SLIDER TOW HOOK WITH SWIVEL COUPLING AND PITON - FRANCE (37) - HITCHES, DRAWBARS & IMPLEMENT COUPLINGS
10
1
home
2
4
7
9
31.116.ag 01
31.114.ah 02
3
6
5
8
FIT
1:1
100%

Артикул

Название

Примечание

Количество

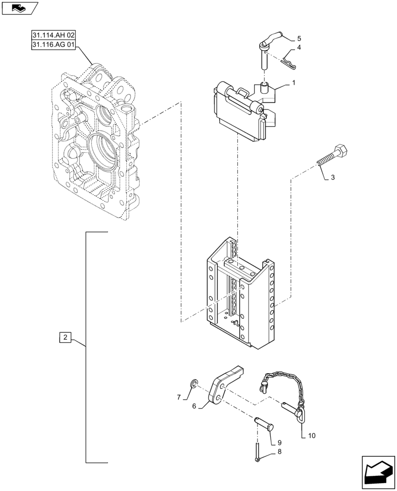
1

82039558

TRAILER HITCH

1шт.

2

84351244

FRAME

Incl 6 - 10

1шт.

3

16220874

BOLT,Hex, M18 x 1.5 x 45mm, Cl 12.9

10шт.

4

82003071

SPRING

1шт.

5

82018421

PIN

1шт.

6

84385418

LATCH HOOK

1шт.

7

86511327

WASHER,21mm ID x 37mm OD x 3mm Thk

1шт.

8

281072

COTTER PIN,5/16" Dia x 3"

1шт.

9

86516223

PIN,30mm OD x 89mm L

1шт.

10

86516226

PIN,20mm OD x 100mm L

1шт.

Выбрано товаров: 10