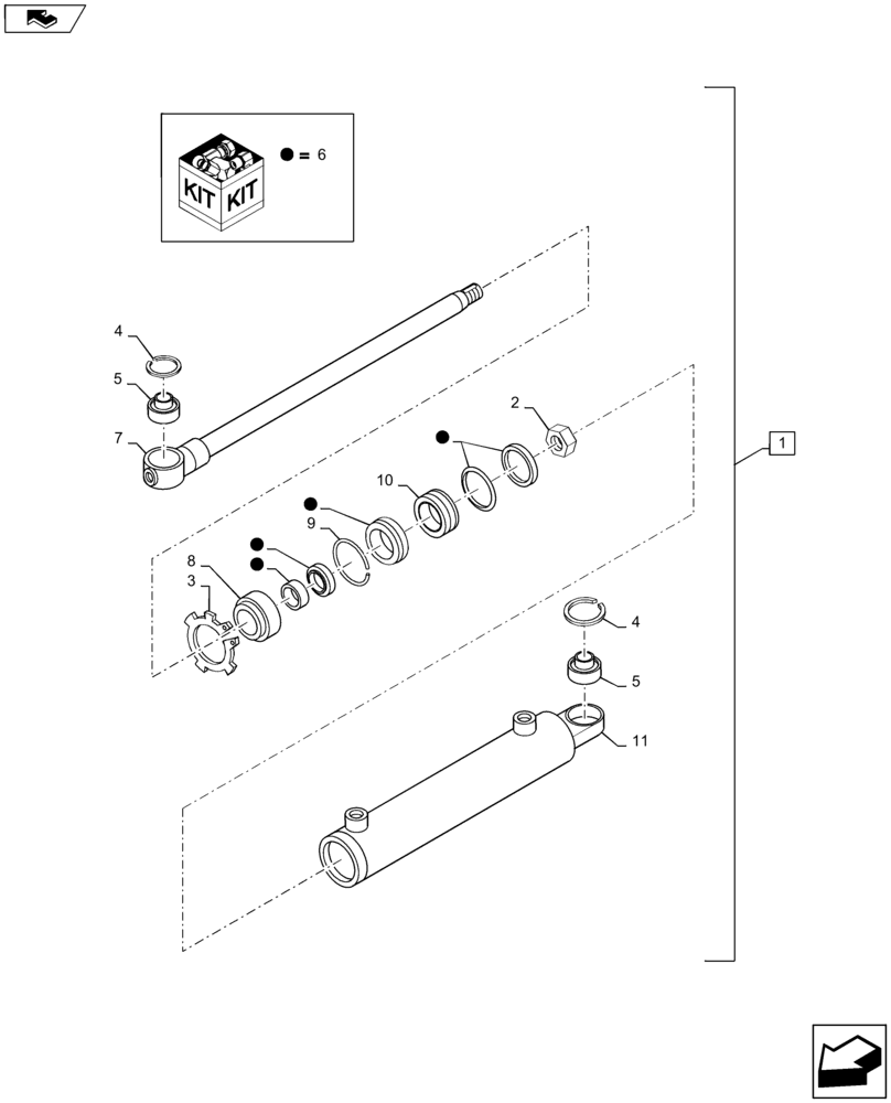
Запчасти Case IH MAXXUM 140 (41.216.AN[03]) - VAR - 330425, 330409, 330416, 330414, 330427 + STD - CL.3 FRONT AXLE - HYDRAULIC STEERING CYLINDER - BREAKDOWN (41) - STEERING

Схема запчастей Case IH MAXXUM 140 - (41.216.AN[03]) - VAR - 330425, 330409, 330416, 330414, 330427 + STD - CL.3 FRONT AXLE - HYDRAULIC STEERING CYLINDER - BREAKDOWN (41) - STEERING
home
10
4
6
9
6
6
11
3
6
6
5
7
4
8
6
5
1
2
FIT
1:1
100%

Артикул

Название

Примечание

Количество

1

87521950

SERVO STEERING CYL

Incl 2 -11

2шт.

2

5190904

LOCK NUT

2шт.

3

5190907

SNAP RING

2шт.

4

5190903

LOCKING RING

4шт.

5

5190901

BUSHING

4шт.

6

84121150

SEAL KIT

Kit

1шт.

7

NSS

NOT SOLD SEPARAT

Rod, Incl in 1

1шт.

8

NSS

NOT SOLD SEPARAT

Gland, Incl in 1

1шт.

9

NSS

NOT SOLD SEPARAT

Ring, Incl in 1

1шт.

10

NSS

NOT SOLD SEPARAT

Piston, Incl in 1

1шт.

11

NSS

NOT SOLD SEPARAT

Cylinder Barrel, Incl in 1

1шт.

Выбрано товаров: 11