Запчасти Case IH MAXXUM 140 (1.40. 6/10A[01]) - SHAFT ARTICULATED - BREAKDOWN - C6063 (VAR.330408) (04) - FRONT AXLE & STEERING

Схема запчастей Case IH MAXXUM 140 - (1.40. 6/10A[01]) - SHAFT ARTICULATED - BREAKDOWN - C6063 (VAR.330408) (04) - FRONT AXLE & STEERING
FIT
1:1
100%

Артикул

Название

Примечание

Количество

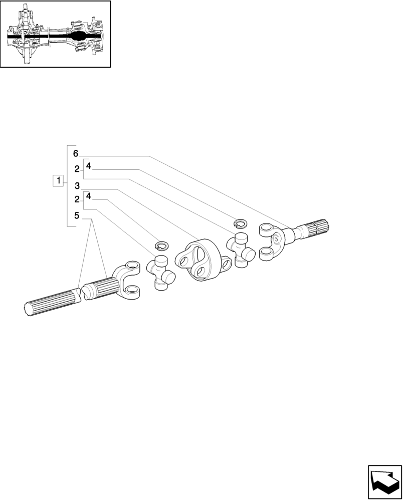
1

87346028

AXLE-SHAFT, ARTICULA

ASSY, LH

1шт.

1

87357730

SHAFT

ASSY, RH

1шт.

2

87361037

SPIDER

2шт.

3

87361042

YOKE

1шт.

4

87361040

CIRCLIP

8шт.

5

87361044

AXLE-SHAFT, ARTICULA

LH, 707MM

1шт.

5

87361045

AXLE-SHAFT, ARTICULA

RH, 727MM

1шт.

6

87361041

YOKE

231.8MM

1шт.

Выбрано товаров: 8