Запчасти Case IH MAXXUM 145 (90.124.AN[04]) - VAR - 758675 - DRIVER SEAT, GRAMMER DELUXE SEAT, W/ LOW FREQUENCY AIR SUSPENSION, W/ HEATED CUSHIONS, AIR COMPRESSOR, SPRING (90) - PLATFORM, CAB, BODYWORK AND DECALS

Схема запчастей Case IH MAXXUM 145 - (90.124.AN[04]) - VAR - 758675 - DRIVER SEAT, GRAMMER DELUXE SEAT, W/ LOW FREQUENCY AIR SUSPENSION, W/ HEATED CUSHIONS, AIR COMPRESSOR, SPRING (90) - PLATFORM, CAB, BODYWORK AND DECALS
90.124.ak (04)
1
7
11
14
3
4
16
2
20
13
9
4
5
6
15
9
4
4
18
17
4
19
8
10
12
90.124.ak (04)
90.124.ak (04)
FIT
1:1
100%

Артикул

Название

Примечание

Количество

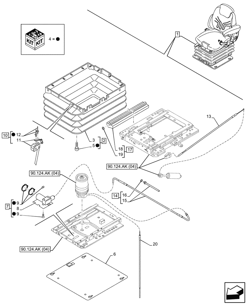
1

47725248

DRIVER SEAT

ASSY, Deluxe Seat with Low Frequency air suspension with heated cushions & Belt, Incl 2 - 20

1шт.

See also Driver Seat Components in Figure 55.512.CQ (04), 90.124.AD (04), 90.124.AH (04), 90.124.AK (04), 90.124.AL (04), 90.124.AM (07), 90.124.AM (08), 90.124.AQ (04), 90.151.AD (04)

1шт.

2

84190978

BELLOWS

ASSY, Incl 3, 5

1шт.

3

NSS

NOT SOLD SEPARAT

Frame, Incl in 2

1шт.

4

84190975

REPAIR KIT

Incl 5, 9, 12

1шт.

Include also Small Parts in Figure 90.124.AK (04)

1шт.

5

84191003

REPAIR KIT

1шт.

6

84247559

PLATE

1шт.

7

84190980

AIR COMPRESSOR

ASSY, Incl 8, 9

1шт.

8

NSS

NOT SOLD SEPARAT

Air Compressor, Incl in 7

1шт.

9

84191008

REPAIR KIT

1шт.

10

84190962

KIT

ASSY, Incl 11, 12

1шт.

11

NSS

NOT SOLD SEPARAT

Level Indicator, Incl in 10

1шт.

12

NSS

NOT SOLD SEPARAT

Rivets, Incl in 10 and Incl in 4

1шт.

13

84190997

BOWDEN CONTROL

1шт.

14

84191079

KIT

ASSY, Incl 15, 16

1шт.

15

NSS

NOT SOLD SEPARAT

Tube, Incl in 14

1шт.

16

84191016

REPAIR KIT

1шт.

17

84191082

SERVICE KIT

ASSY, Incl 18, 19

1шт.

18

NSS

NOT SOLD SEPARAT

Air Reservoir, Incl in 17

1шт.

19

84191086

REPAIR KIT

1шт.

20

84191077

TUBE

1шт.

Выбрано товаров: 22