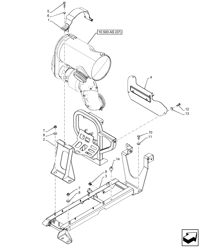
Запчасти Case IH MAXXUM 150 (10.500.AS[08]) - VAR - 743812 - MUFFLER, CATALYST, SUPPORT (10) - ENGINE

Схема запчастей Case IH MAXXUM 150 - (10.500.AS[08]) - VAR - 743812 - MUFFLER, CATALYST, SUPPORT (10) - ENGINE
10.500.as (07)
12
14
2
1
3
7
9
7
8
5
8
6
11
13
10
4
FIT
1:1
100%

Артикул

Название

Примечание

Количество

1

47582322

RETAINER COLLAR

1шт.

2

47830565

BRACKET

1шт.

3

47830579

SUPPORT

1шт.

4

47730446

HEAT SHIELD

1шт.

5

15213521

BOLT,Hex, M8 x 45mm, Cl 8.8, Full Thd

1шт.

6

10519601

WASHER,8.15mm ID x 17mm OD x 2mm Thk

1шт.

7

47455668

NUT,Hex, M10

8шт.

8

12626201

WASHER,10.2mm ID x 25mm OD x 3mm Thk

8шт.

9

82033028

CABLE TIE,170mm L

3шт.

10

11106221

SCREW,Hex, M10 x 25mm, Cl 8.8, Full Thd

4шт.

11

86625253

WASHER,11mm ID x 24mm OD x 2mm Thk

4шт.

12

16043821

SCREW,Hex, M8 x 1.25 x 30mm, Cl 8.8, Full Thd

3шт.

13

86639313

WASHER,9mm ID x 24mm OD x 2mm Thk

3шт.

14

47633741

DAMPER

3шт.

Выбрано товаров: 14