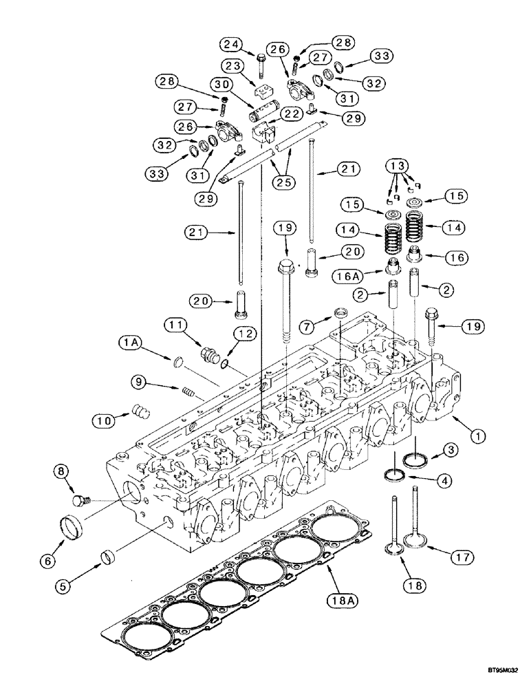
Запчасти Case IH MX180 (2-074) - CYLINDER HEAD, VALVE MECHANISM, MX180, MX200, MX220, 6T-830/6TAA-830 EMISSIONS CERTIFIED ENGINE (02) - ENGINE

Схема запчастей Case IH MX180 - (2-074) - CYLINDER HEAD, VALVE MECHANISM, MX180, MX200, MX220, 6T-830/6TAA-830 EMISSIONS CERTIFIED ENGINE (02) - ENGINE
6
22
17
29
28
2
32
4
20
31
24
32
15
16a
5
11
30
18a
28
23
33
20
15
26
33
25
14
2
7
8
14
19
27
9
13
29
19
31
26
18
10
16
1
12
21
1a
27
3
21
FIT
1:1
100%

Артикул

Название

Примечание

Количество

JR925642

HEAD

Assembly, cylinder, remanufactured

1шт.

JC916464

HEAD

Return Number

1шт.

J925642

HEAD (CYLINDER)

ASSY, with valves, consists of: Ref. 1 - 18

1шт.

84262945R

REMAN-CYLINDER HEAD

MX200,MX180,MX220 All Prior to P.I.N. JJA0105000 (1/99-), Reman For New P/N J925642

1шт.

84262945C

CORE-CYLINDER HEAD

Return Number

1шт.

1

J920031

HEAD (CYLINDER)

ASSY, without valves, consists of: Ref. 1A - 7

1шт.

1

84262945R

REMAN-CYLINDER HEAD

MX200,MX180,MX220 All Prior to P.I.N. JJA0105000 (1/99-), Reman For New P/N J920031

1шт.

1

84262945C

CORE-CYLINDER HEAD

Return Number

1шт.

1

86990827

REMAN-CYLINDER HEAD

Cylinder Head

1шт.

1

86990828

CORE-CYLINDER HEAD

Return Number

1шт.

1a

J912900

PLUG

expansion, 24 mm

1шт.

For 19.18 mm hole. Outer flange measures 24 mm.

1шт.

2

J923564

VALVE GUIDE

12шт.

3

J924582

INSERT

INSERT intake

6шт.

3

J925468

SEAT, VALVE

INSERT, 0.25 mm, intake, oversize

6шт.

3

J925470

SEAT, VALVE

INSERT, 0.50 mm, intake, oversize

6шт.

4

J929005

INSERT

exhaust

6шт.

4

J929006

INSERT

0.25 mm, exhaust, oversize

6шт.

4

J929007

INSERT

0.50 mm, exhaust, oversize

6шт.

5

J920443

PLUG

expansion, 30 mm

1шт.

6

A77782

PLUG

expansion, 58 mm

2шт.

7

41-1616

PLUG,Cup, 1", Stainless

5шт.

8

A77534

PLUG

hex, 1/16 PT

1шт.

9

A77428

PLUG

1/4 PT

1шт.

10

A77429

PLUG

1/2 PT

2шт.

11

J924148

PLUG,M22 x 1.5

hex, M22

2шт.

12

J902425

SEALING WASHER,22.2mm ID x 26.9mm OD x 1.75mm Thk

2шт.

13

J901177

VALVE

RETAINER

24шт.

14

J906412

VALVE SPRING

12шт.

15

J912976

RETAINER

12шт.

16

J915707

SEAL

valve

6шт.

16a

J919038

SEAL

exhaust, valve

6шт.

17

J924492

STD INLET VALVE

STD ENGINE INLET VALVE

6шт.

18

J921444

STD EXHAUST VALVE

STD ENGINE EXHAUST VALVE

6шт.

18a

J931019

GASKET

cylinder head, see Figure 2-068

1шт.

19

J917728

BOLT

160 mm

14шт.

19

J917729

BOLT,Flng, M14 x 80mm

BOLT, 80 mm

12шт.

20

J931623

TAPPET

12шт.

21

J905194

PUSH ROD

12шт.

22

J905870

SUPPORT

6шт.

23

J901693

CLAMP

6шт.

24

868-10065

12 PT SCREW,M10 x 65mm, Cl 12.9

12шт.

25

J919677

TUBE

1шт.

26

J901717

ROCKER

ARM ASSY, Includes: Ref. 27 - 29

12шт.

27

J937438

ADJUSTMENT SCREW,Hex Skt, 3/8" - 24 x 33mm, Adj, Ball Point

1шт.

28

425-116

NUT,3/8" - 24, Gr 5

1шт.

29

NSS

NOT SOLD SEPARAT

INSERT

1шт.

30

J919435

SHAFT

6шт.

31

J906100

SPRING CUP

WASHER

12шт.

32

J907206

WASHER,22.5mm ID x 30mm OD x 1mm Thk

12шт.

33

100-1187

SNAP RING,#87, Ext

12шт.

Выбрано товаров: 0